汇票流程图

商业承兑汇票流程图
图片尺寸920x690
银行承兑汇票业务承兑流程图模版_第1页
图片尺寸1240x1753
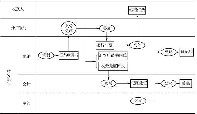
银行汇票流转程序图
图片尺寸920x1302
银行汇票操作流程
图片尺寸1080x810
票汇汇款流程
图片尺寸920x517
图文银行汇票签发流程图
图片尺寸920x1302
摘要:银行承兑汇票流程:收银行承兑汇票,一般客户都是通过快件的方式
图片尺寸631x414
银行汇票流转程序图
图片尺寸920x1302
银行承兑汇票图解
图片尺寸920x1302
商业汇票结算程序
图片尺寸893x326
2019初级会计职称经济法基础考点第三章商业汇票
图片尺寸831x451
商业承兑汇票流程图
图片尺寸920x690
2011年单证员考试结算票据-汇票资料(三)
图片尺寸394x368
银行承兑汇票承兑业务流程图
图片尺寸920x1303
商业承兑汇票流程
图片尺寸435x363
银行承兑汇票结算简笔画流程图
图片尺寸500x301
会计基础知识学习《财经法规》:汇兑
图片尺寸500x285
银行汇票结算付款--操作指导
图片尺寸635x367
银行汇票使用流程
图片尺寸392x241
商业承兑汇票是什么,商业承兑汇票有没有风险和使用流程
图片尺寸441x289