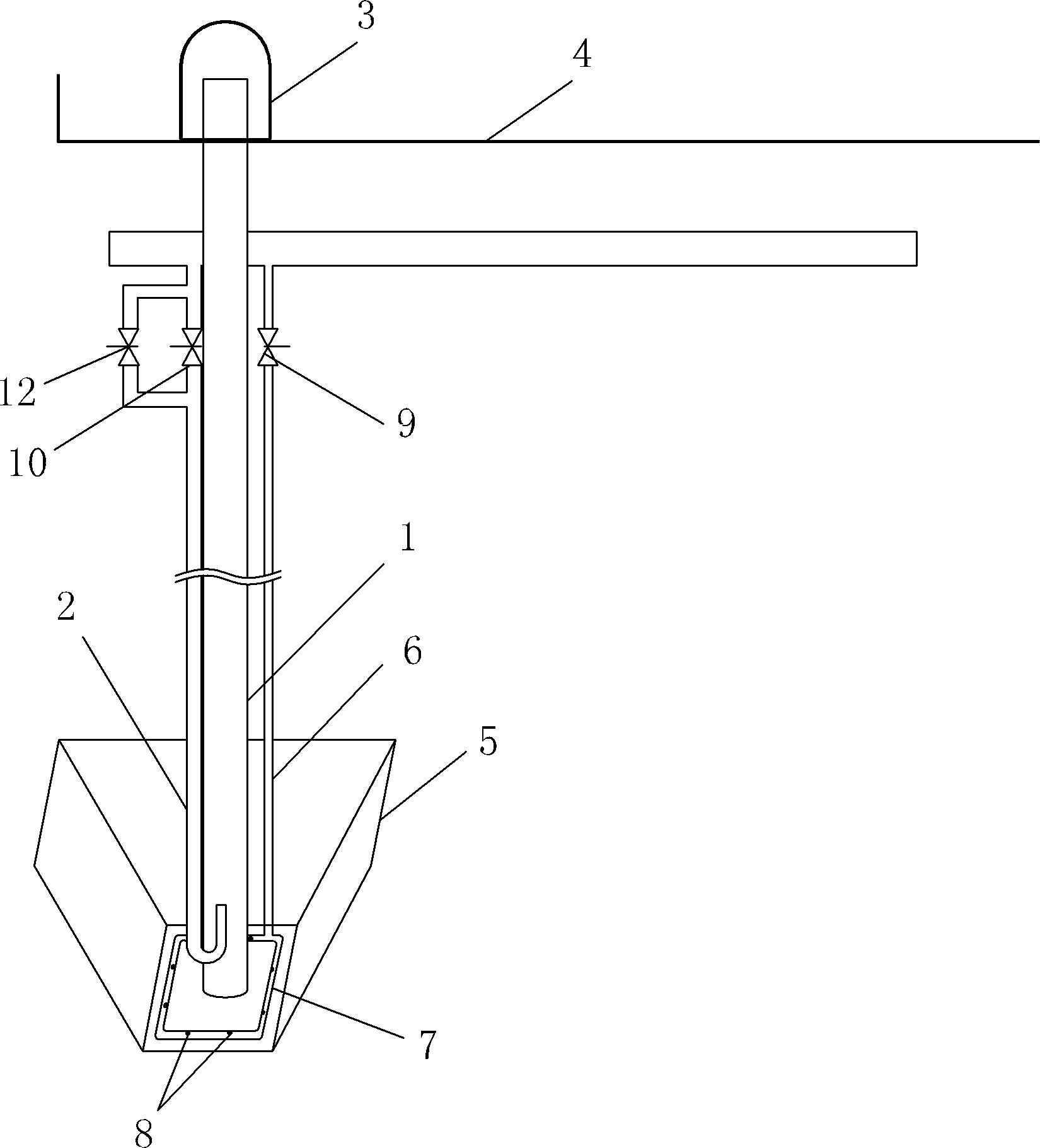
污泥气提装置

一种污泥气提装置-爱企查
图片尺寸1650x1821
污泥气提装置
图片尺寸1534x2702
供应污泥气提装置
图片尺寸400x533
一种污泥,硝化液气提回流装置-爱企查
图片尺寸1909x1407
一种污泥气提装置-爱企查
图片尺寸1152x2672
供应污泥气提装置
图片尺寸960x720
脉冲式气提排泥装置,用于澄清池,生化反应池和污泥池的排泥,以及用于
图片尺寸500x400
山西吕梁市污泥气提装置
图片尺寸1440x1080
一种污泥气提回流装置-爱企查
图片尺寸1606x1618
供应气提排泥设备气提排泥装置高效节水气流搅拌气升排泥装置
图片尺寸750x750
气提排泥装置
图片尺寸500x400
气提排泥装置厂家_气提排泥装置_扬州三水(查看)
图片尺寸650x478
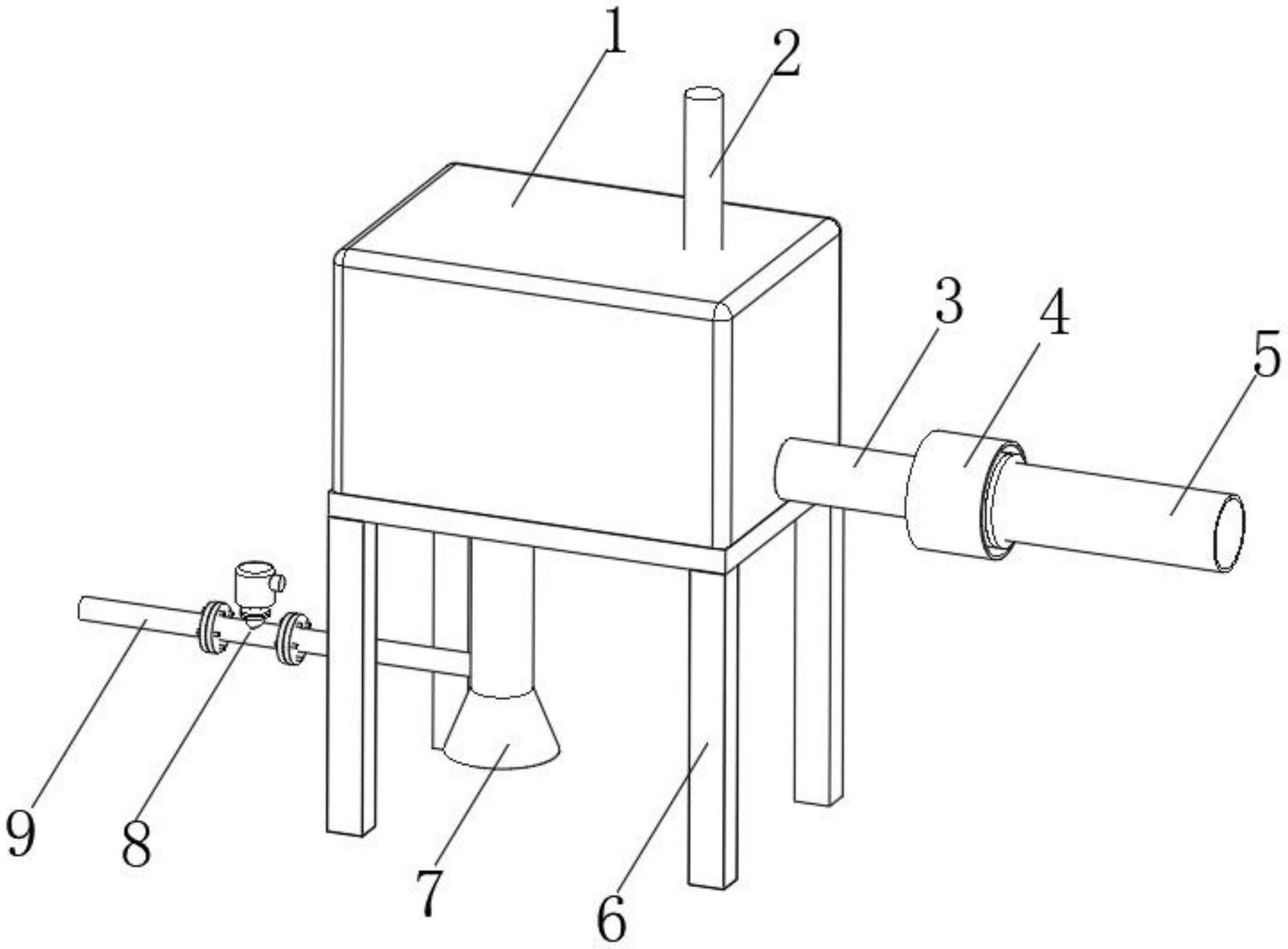
具体涉及一种气体提升污水污泥的装置,包括气提泵,所述气提泵包括液压
图片尺寸914x1428
ztqt-2-污水污泥气提装置
图片尺寸960x720
摘要附图本发明公开了一种气提式污泥提升装置,它包括箱体(10),在箱体
图片尺寸272x376
ztqt-30-新乡脉冲式气提排泥装置选型特点
图片尺寸1440x1080
山西阳泉市污泥气提装置
图片尺寸500x500
zt-10污水处理设备气提排泥装置-潍坊中泰环保科技有限公司
图片尺寸600x800
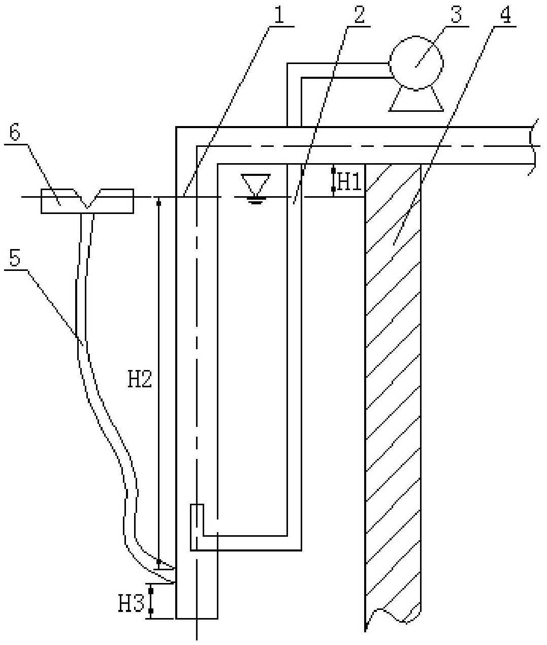
摘要附图摘要本实用新型涉及一种上浮污泥收集装置,包括气提管,供气管
图片尺寸1077x1269
污水污泥气提装置
图片尺寸1280x960