汽提塔内部构造图

影响汽提塔负压的原因分析及对策_杨小兵
图片尺寸488x353
dn450汽提塔原料预热器
图片尺寸594x830
13041-e06401-01 co2汽提塔
图片尺寸4868x3465
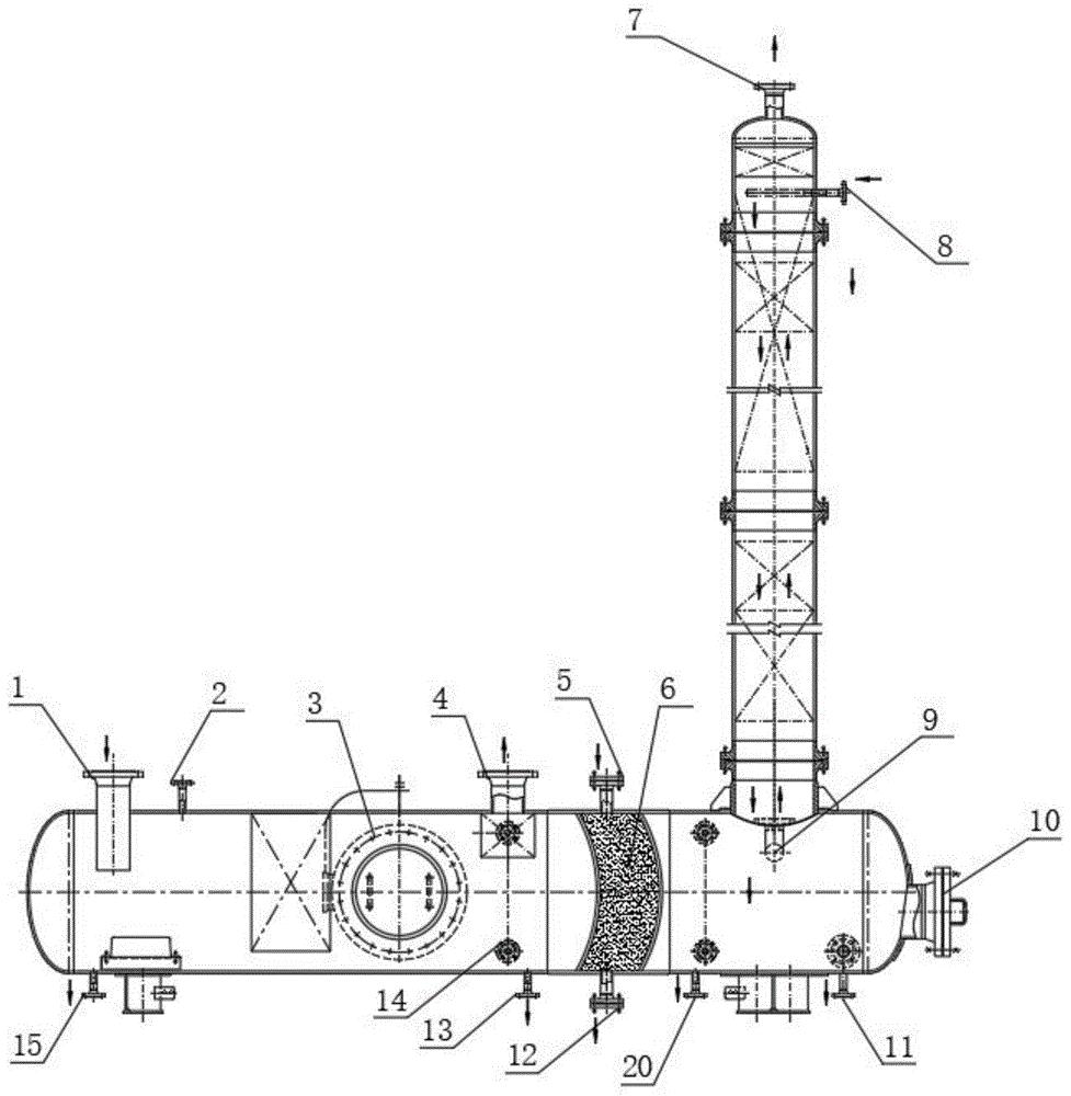
一种立式多级汽提塔
图片尺寸757x1000
110立方汽提塔加料槽图
图片尺寸1010x684
汽提塔80016m
图片尺寸820x1160
dn600常压汽提塔图纸
图片尺寸544x517
一种新型汽提塔的制作方法
图片尺寸1000x939
一种节能废水汽提塔制造技术
图片尺寸1000x697
含硫污水汽提塔的制作方法
图片尺寸496x648
某轻蜡油汽提塔cad构造设计图纸
图片尺寸610x861
如何提高汽提塔的汽提效率_富伟年
图片尺寸546x522
cn110304678a_低温分离甲醇汽提塔合一装置在审
图片尺寸977x1000
柴油汽提塔温度的问题?有图片
图片尺寸1589x789
氨氮废水处理汽提塔
图片尺寸1043x1732
一种用于汽提塔的可旋转塔内装置制造方法及图纸
图片尺寸574x1000
汽提塔采用精馏塔模型,在每一个塔板上进行气液分离,从而达到物料高度
图片尺寸564x370
一种石油加氢催化重整用汽提塔的制作方法
图片尺寸262x443
一种抗堵型水汽提塔制造技术
图片尺寸888x1000
混合油碟式汽提塔的改进设计与实践
图片尺寸970x1362