汽车顶棚结构

非全景天窗的车身结构,车顶中央多一根横梁
图片尺寸1080x782
汽车顶棚结构及汽车的制作方法
图片尺寸444x289
汽车天窗和车顶结构
图片尺寸700x437
美系车顶棚盘点止振材料和工艺存在瑕疵
图片尺寸650x433
一种汽车顶棚安装结构及汽车的制作方法
图片尺寸969x329
汽车顶棚的结构是怎样的?它是如何起到隔音隔热作用的?
图片尺寸497x497
6m6m单跨带拉索汽车棚膜结构
图片尺寸791x574
新型技术涉及到硬派越野汽车生产领域,具体涉及到一种拼装式车顶结构
图片尺寸1000x859
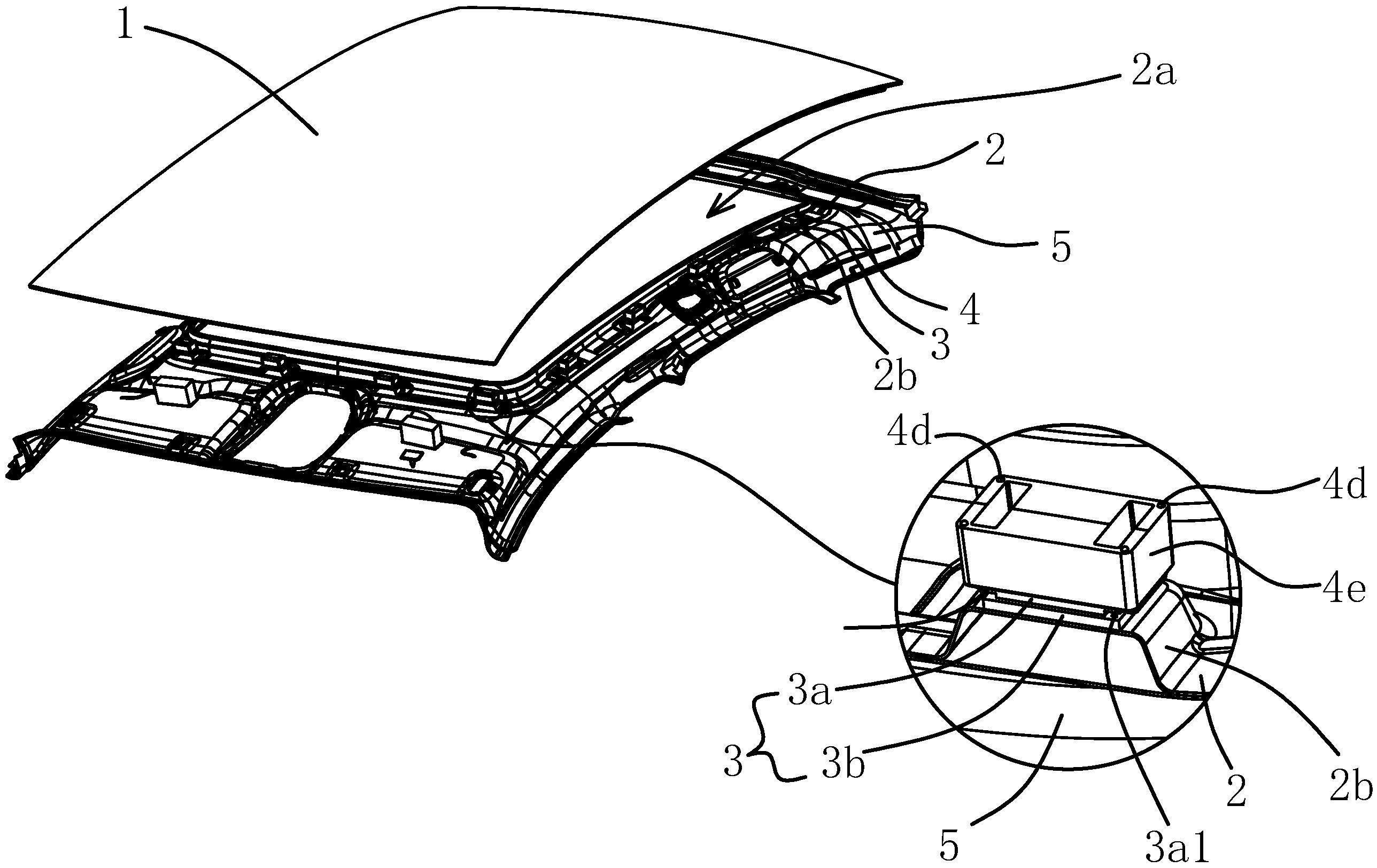
cn212979832u_汽车顶棚与顶盖玻璃的连接结构
图片尺寸2576x1625
汽车顶棚天窗框架连接结构
图片尺寸1000x761
新型公开了一种汽车小天窗顶棚总成,包括顶棚本体,顶棚本体呈壳体结构
图片尺寸1631x1009
车顶结构-爱卡汽车网论坛
图片尺寸1300x975
让合资品牌自愧不如 自主品牌车型顶棚汇总
图片尺寸650x433
【牛车实验室】车顶结构初探秘 安全在这里是如何体现的
图片尺寸1280x853
汽车顶棚天窗框架连接结构的制作方法
图片尺寸1000x759
莆田在哪里有做膜结构汽车停车棚 遮阳棚 自行车棚-义乌市世恩膜结构
图片尺寸1280x896
汽车小天窗顶棚总成的制作方法
图片尺寸1000x621
连云港车棚,连云港膜结构车棚,连云港汽车棚,连云港汽车停车棚
图片尺寸1700x1186
背景技术:车顶帐篷,又称为车顶上的"家",是随着汽车制造业而发展起来
图片尺寸1000x871
还是吸能区=安全?-新浪汽车
图片尺寸640x433