沉淀箱结构图

一种深海泥沙沉淀土箱的制作方法
图片尺寸443x408
一种油渣分离沉淀箱
图片尺寸1439x2509
一种水处理沉淀箱的制作方法
图片尺寸776x1000
一种便于拆卸的沉淀箱的制作方法
图片尺寸444x391
一种新型研磨液沉淀箱的制作方法
图片尺寸442x443
一种沉淀箱的制作方法
图片尺寸1000x747
一种煤化工废水沉淀箱的制作方法
图片尺寸410x443
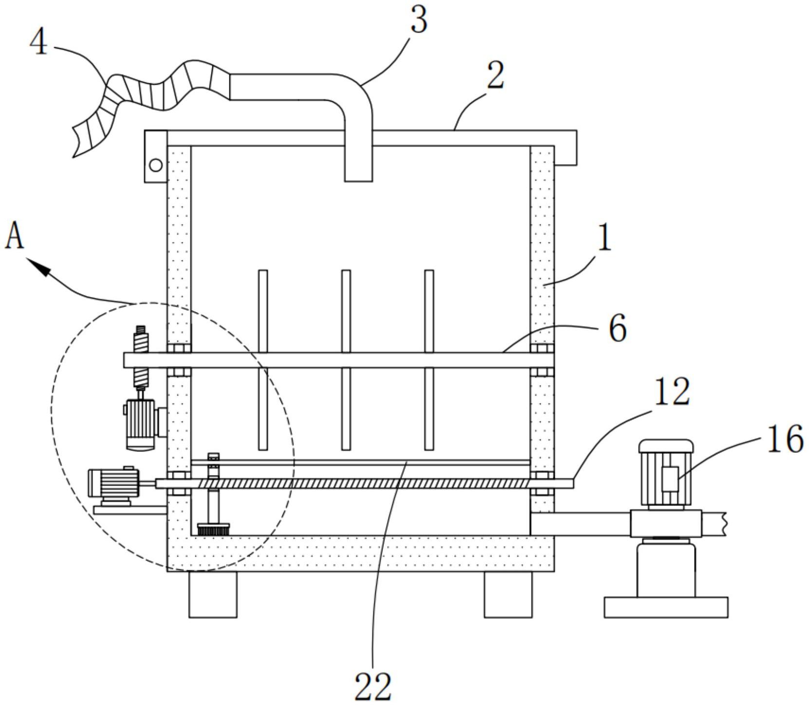
cn213202673u_一种工业污水处理沉淀箱
图片尺寸1661x1450
一种用于浮选药剂的反流型斜管沉淀箱的制作方法
图片尺寸443x326
一种化学涂料沉淀箱的制作方法
图片尺寸1000x826
一种污水处理用预处理沉淀箱制造技术
图片尺寸1000x789
煤化工废水沉淀箱
图片尺寸542x579
cn206995934u_一种沉淀分液箱失效
图片尺寸1806x1309
一种多级边坡截污沉淀箱的制作方法
图片尺寸1000x510
cn112340879a_一种循环式污水沉淀罐在审
图片尺寸1698x2163
现有沉淀池结构的构造主要分为:进水区,沉淀区,污泥区和出水区.
图片尺寸444x363
在污水沉淀过程中,大多需要用到沉淀处理箱,现有的沉淀处理箱长时间
图片尺寸406x464
一种高效混凝沉淀装置的制作方法
图片尺寸963x1000
(二),高效斜板沉淀器外形结构图(一)主要技术参数型高效斜板沉淀器c
图片尺寸552x438
气泵,e型管,隔板,出气板,微型水泵,第一密封圈,放水管,沉淀水箱,集渣
图片尺寸574x387