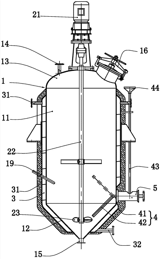
沉淀罐结构图

自流式污水沉淀罐
图片尺寸2106x2727
一种污水处理沉淀罐-爱企查
图片尺寸1585x1745
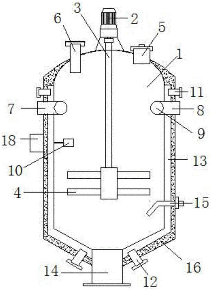
并联式污水沉淀罐
图片尺寸2194x2078
串联式污水沉淀罐
图片尺寸2080x1720
竖流式沉淀池
图片尺寸680x950
酒精沉淀罐,jc300-3000系列酒精沉淀罐,库存(二手) 酒精沉淀罐
图片尺寸494x850
一种环境保护用新型水处理旋转式沉淀仓
图片尺寸1670x2207
cn112340879a_一种循环式污水沉淀罐在审
图片尺寸1698x2163
一种酒精沉淀罐
图片尺寸622x1000
竖流式沉淀池 slc竖流式沉淀池 序号 塔体内径㎜ 总高度㎜ 进水
图片尺寸570x690
cn201768402u_高效醇沉罐
图片尺寸800x1240
一种具有过滤功能的醇沉罐
图片尺寸1058x1552
一种醇沉罐的制作方法
图片尺寸573x836
cn209033826u_一种醇沉罐有效
图片尺寸729x1000
一种醇沉罐
图片尺寸780x1000
一种醇沉罐
图片尺寸330x360
沉淀罐的制作方法
图片尺寸754x1000
混凝沉淀罐装置的制作方法
图片尺寸818x1000
一种醇沉罐
图片尺寸749x1000
污泥沉降罐
图片尺寸1530x1895