沸腾炉结构图

沸腾炉
图片尺寸600x473
沸腾炉 原 料 气 炉 so2 o2 n2 气 炉气 粉 碎 净 化 so2 o2 n2
图片尺寸1080x810
有3000多万吨热值在6276kj/kg以上,可作沸腾炉燃料用于发电,全国已有
图片尺寸289x330
20平米沸腾炉cad总图纸机械设备cad图纸
图片尺寸553x728
沸腾炉
图片尺寸893x498
沸腾炉的设计 年产6万吨锌冶炼沸腾焙烧炉设计
图片尺寸380x517
纺织/轻工业 锅炉燃烧原理及燃烧设备ppt fdc 沸腾炉 沸腾炉结构示意
图片尺寸1080x810
一种微正压颗粒成型污泥焚烧沸腾炉及其焚烧工艺的制作方法
图片尺寸863x1000
沸腾炉全套资料(原理,图纸,结构说明)专利设计技术文集
图片尺寸700x700
高温节能新型沸腾炉制造技术
图片尺寸598x431
余热锅炉沸腾炉
图片尺寸750x750
基本结构与操作要点 沸腾炉主要由炉体,原料预热系统,鼓风系统,排烟
图片尺寸567x500
cn201583137u_焙烧沸腾炉失效
图片尺寸2202x2716
一种石膏粉煅烧沸腾炉余热回收利用系统
图片尺寸1776x1915
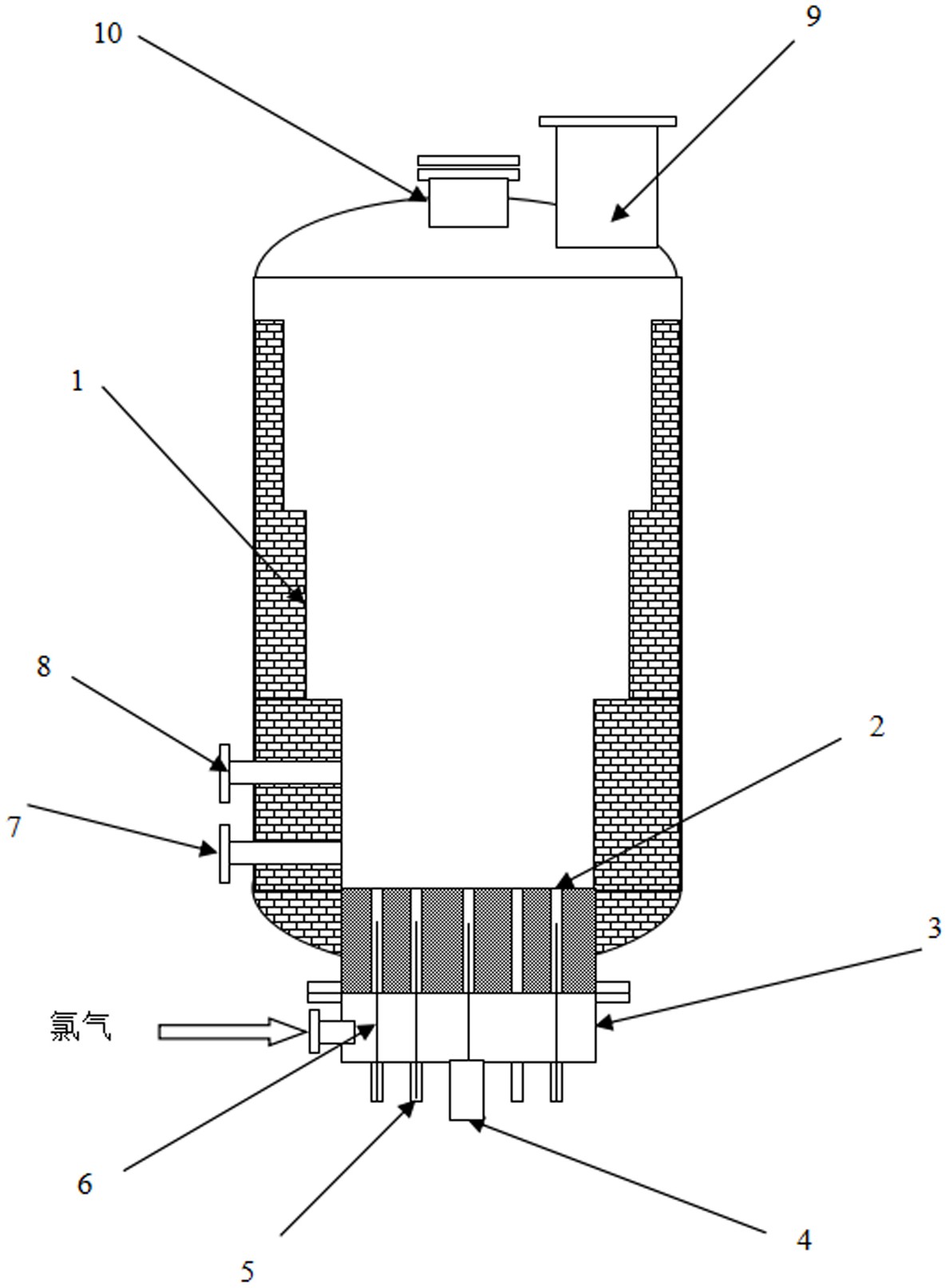
一种有筛板沸腾氯化炉结构
图片尺寸1189x1614
一种智能安全的沸腾炉的制作方法
图片尺寸412x444
cn2084152u_立式燃烬层汽水两用锅炉失效
图片尺寸800x1026
一种充分还原气氛多用途的流化床式沸腾炉及系统
图片尺寸1000x863
沸腾炉的制作方法
图片尺寸803x1000
一种沸腾炉用烟气脱硝系统
图片尺寸2582x1915