油室构造图

关于某某同学: 加油时要小心加油枪的秘密 话题.的回复
图片尺寸600x387
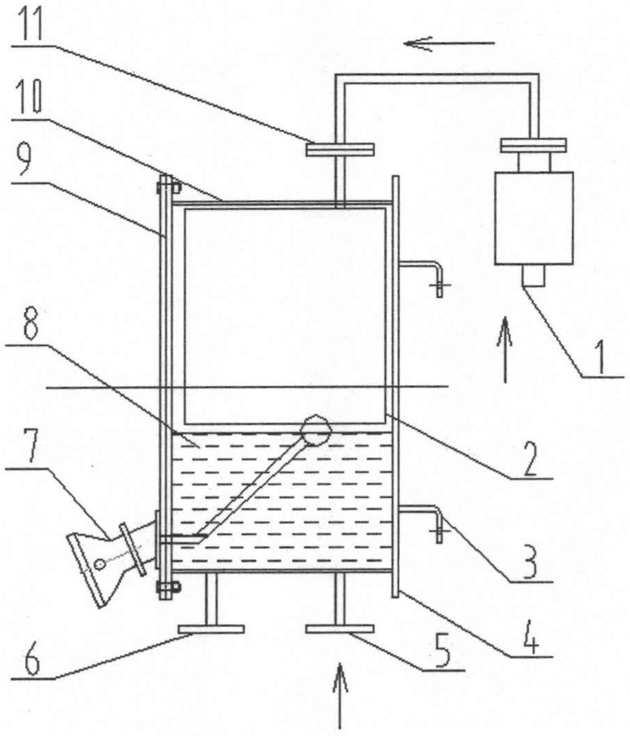
一种水力搅拌机的油室的制作方法
图片尺寸957x1000
地埋式储油罐的内部结构图,以及原理.
图片尺寸450x335
什么是柴油机的分隔式燃烧室?
图片尺寸1464x1002
"加油枪管子这么长,让我把里面的油甩干净行不?
图片尺寸660x473
原油罐结构示意图
图片尺寸694x587
油浸式变压器(电抗器)油位异常分析及处理
图片尺寸1024x752
油库框架结构图纸含招标文件
图片尺寸760x569
什么是柴油机的分隔式燃烧室?
图片尺寸894x984
油罐结构示意图
图片尺寸580x450
并联式食用油的储油罐的制作方法
图片尺寸1000x691
液压系统油箱故障与油箱设计
图片尺寸286x348
油室图
图片尺寸820x386
油箱结构示意图
图片尺寸645x507
化油器结构作用保养方法常见故障及排除方法
图片尺寸473x388
餐饮店油水分离器装在哪里?注意事项|残渣|污泥_网易订阅
图片尺寸660x420
一种全密封天然酯绝缘油用有载开关储油柜结构-爱企查
图片尺寸912x1066
一种新型储油柜与胶囊装配结构-爱企查
图片尺寸649x799
石油井下空心抽油杆电加热采油装置
图片尺寸640x659
浅谈摩托车化油器的清洗与调整
图片尺寸350x318