油封工程图

油封结构图,剖析图,示意图
图片尺寸1080x607
骨架油封种类材质及型号表示方法.#骨架油封 #密封件 #油封
图片尺寸1180x1124
图片尺寸800x1132
骨架油封正确的安装流程
图片尺寸1071x584
解决柴油机漏油问题的新方案:专用油封安装工装的应用
图片尺寸1032x654
mkc/米卡斯 内包骨架油封 丁腈橡胶tc 50×75×12 10个 1卷
图片尺寸800x1073
dc内包骨架油封图
图片尺寸1158x806
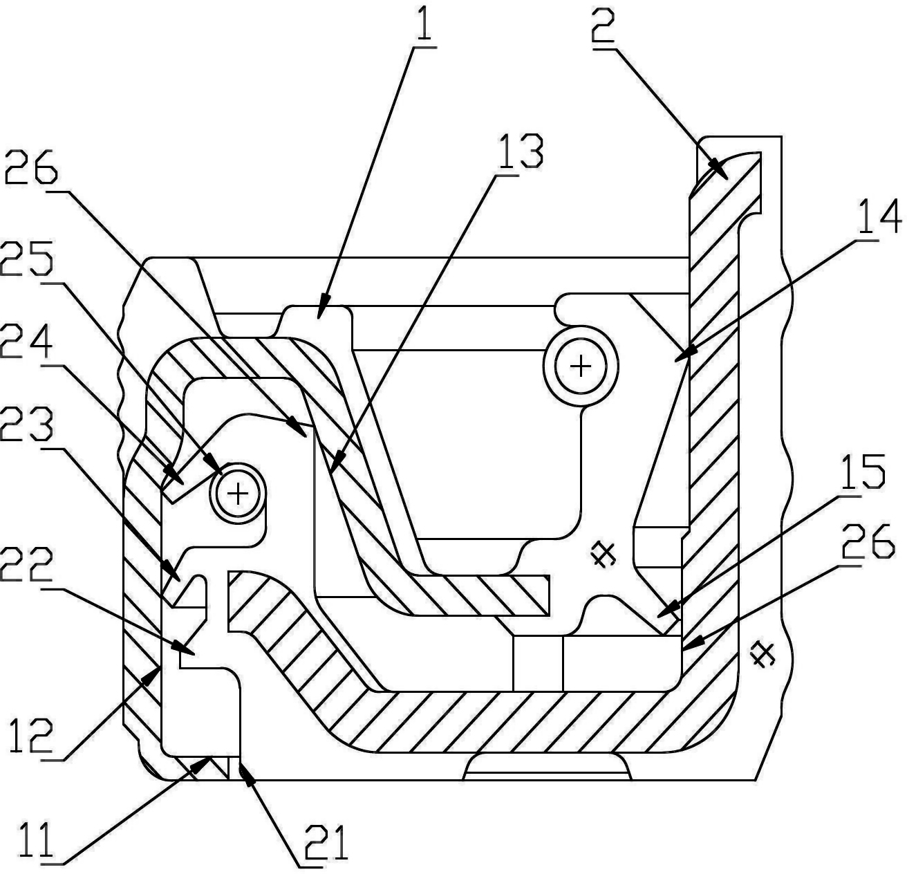
一种骨架油封安装结构
图片尺寸1076x1073
具有长效防尘效果的盒式油封
图片尺寸1312x1264
骨架油封介绍
图片尺寸1920x1080
一种高性能氟橡胶材料的多唇防尘双向回流线油封的制作方法
图片尺寸1000x996
一种骨架油封压装结构
图片尺寸1283x1488
一种低摩擦的油封的制作方法
图片尺寸830x1000
一种具有耐高温结构的油封的制作方法
图片尺寸1000x547
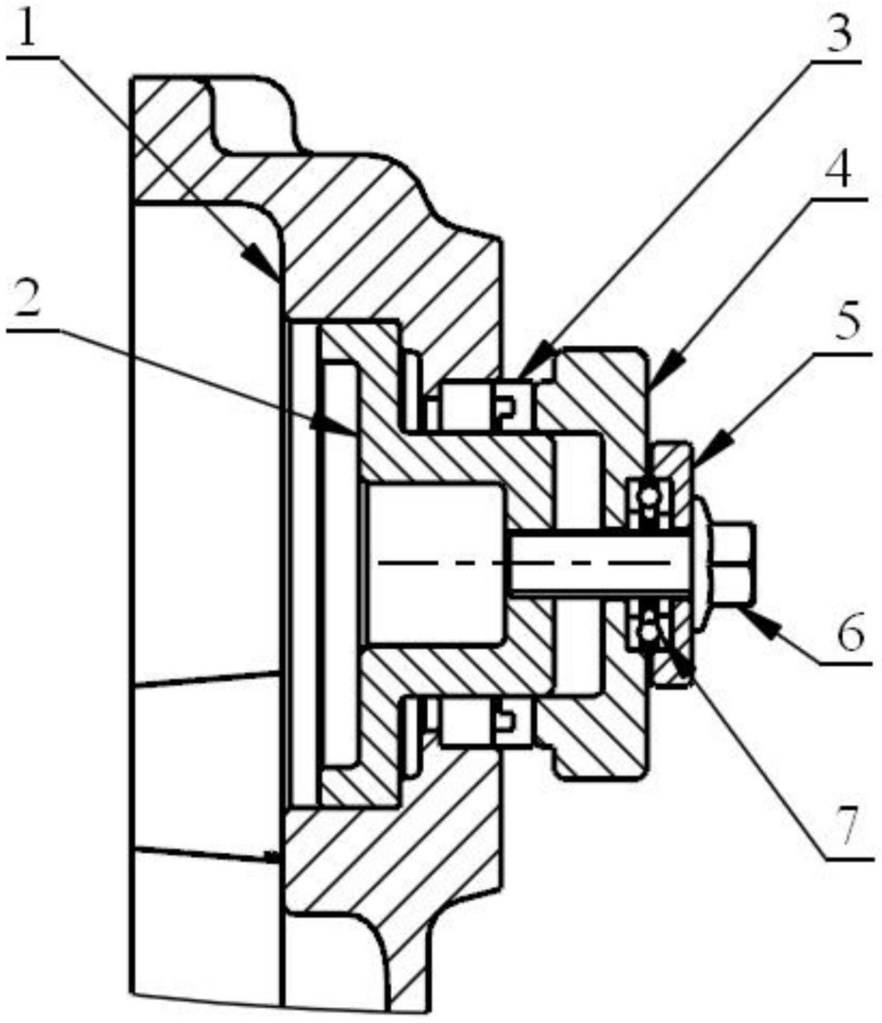
套设在输出轴外,轴支座包括箱体,轴承一,轴承二,锁紧螺母和内骨架油封
图片尺寸1365x1679
油封的工作原理,安装注意事项及应用领域解析
图片尺寸393x226
旋转轴唇形油封(密封圈)的安装方法
图片尺寸3937x5343
骨架油封形式1
图片尺寸1240x1753
骨架油封正确的安装流程
图片尺寸710x614
高压骨架油封
图片尺寸1400x450