油浴锅装置图

原料的制备金属酞菁的合成装置包括冷凝管,温度计,三颈烧瓶,油浴锅体
图片尺寸444x442
ppt科研绘图-10分钟画油浴锅
图片尺寸3600x2250
一种油浴锅与管式炉组合加热装置的制作方法
图片尺寸1000x869
物理化学装置的制造及其应用技术
图片尺寸786x1000
带计时功能的油浴锅的制作方法
图片尺寸771x1000
油浴锅加热
图片尺寸600x800
厂家直销循环加热油浴槽 科达恒温循环水浴锅 不锈钢水油浴锅
图片尺寸790x922
一种油浴锅与管式炉组合加热装置
图片尺寸1000x869
好物推荐实验室加热仪器加热快的油浴锅
图片尺寸1080x1439
物理化学装置的制造及其应用技术
图片尺寸961x1000
du3gw恒温磁力搅拌水浴锅304不锈钢材料水浴锅
图片尺寸800x800
水浴锅 智能水浴锅 油浴锅
图片尺寸3293x3293
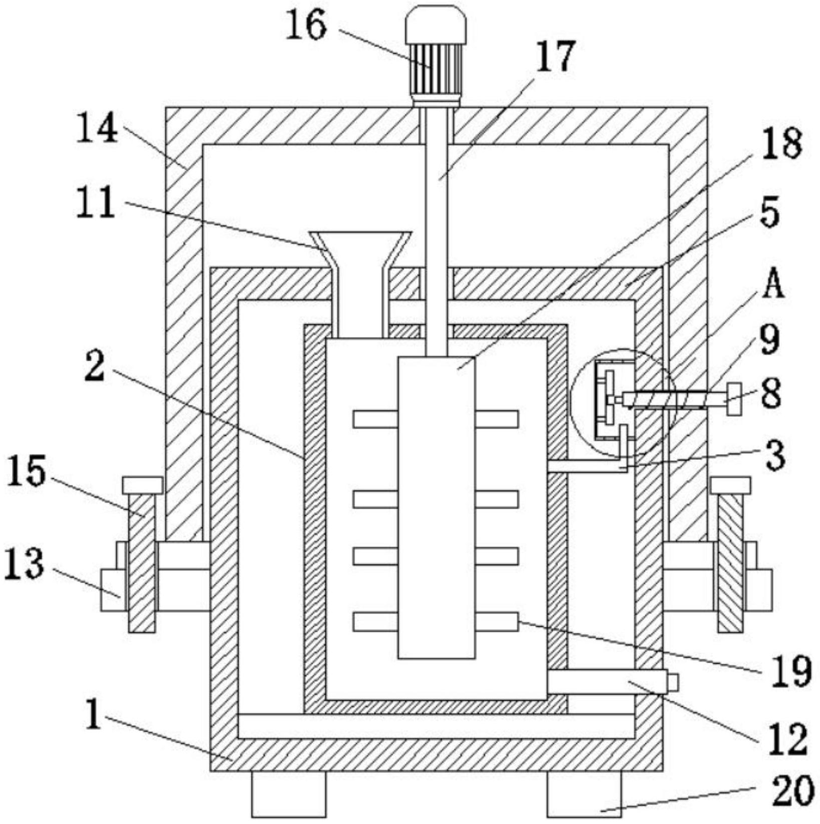
本实用新型涉及油浴加热装置领域,尤其是涉及一种具有防尘功能的油浴
图片尺寸998x1000
一种实验室用于水浴锅的控温装置的制作方法
图片尺寸444x373
油浴的介绍
图片尺寸530x530
一种快速升温油浴锅制造技术
图片尺寸1000x892
有一天在锅里做一个dmf溶液的反应,油浴,忘记把温度棒放到油里了.
图片尺寸700x644
高温循环油浴锅的面板说明
图片尺寸1440x1792
一种带有自动切断装置的油浴锅
图片尺寸1638x1645
油浴加热
图片尺寸800x414