油管接头图纸

油气管道绝缘接头的制作方法
图片尺寸976x1000
液压管接头标准
图片尺寸1992x2976
jb989-77 液压管接头体cad图纸newjbt
图片尺寸1654x2339
30,ug绘制管接头工程图
图片尺寸744x529
gb3541—1983柴油机用低压油管接头铰接式管接头.pdf
图片尺寸800x1132
油管接箍2寸8eu零件图下载(92.38k,dwg格式) 机械cad图纸
图片尺寸761x516
执行标准:api-5ct api-5l api-5b 石油油管类: 规格:1.66",1.
图片尺寸811x991
油管接头-带proe图注塑成型工艺及模具cad图纸设计带word说明文档
图片尺寸966x849
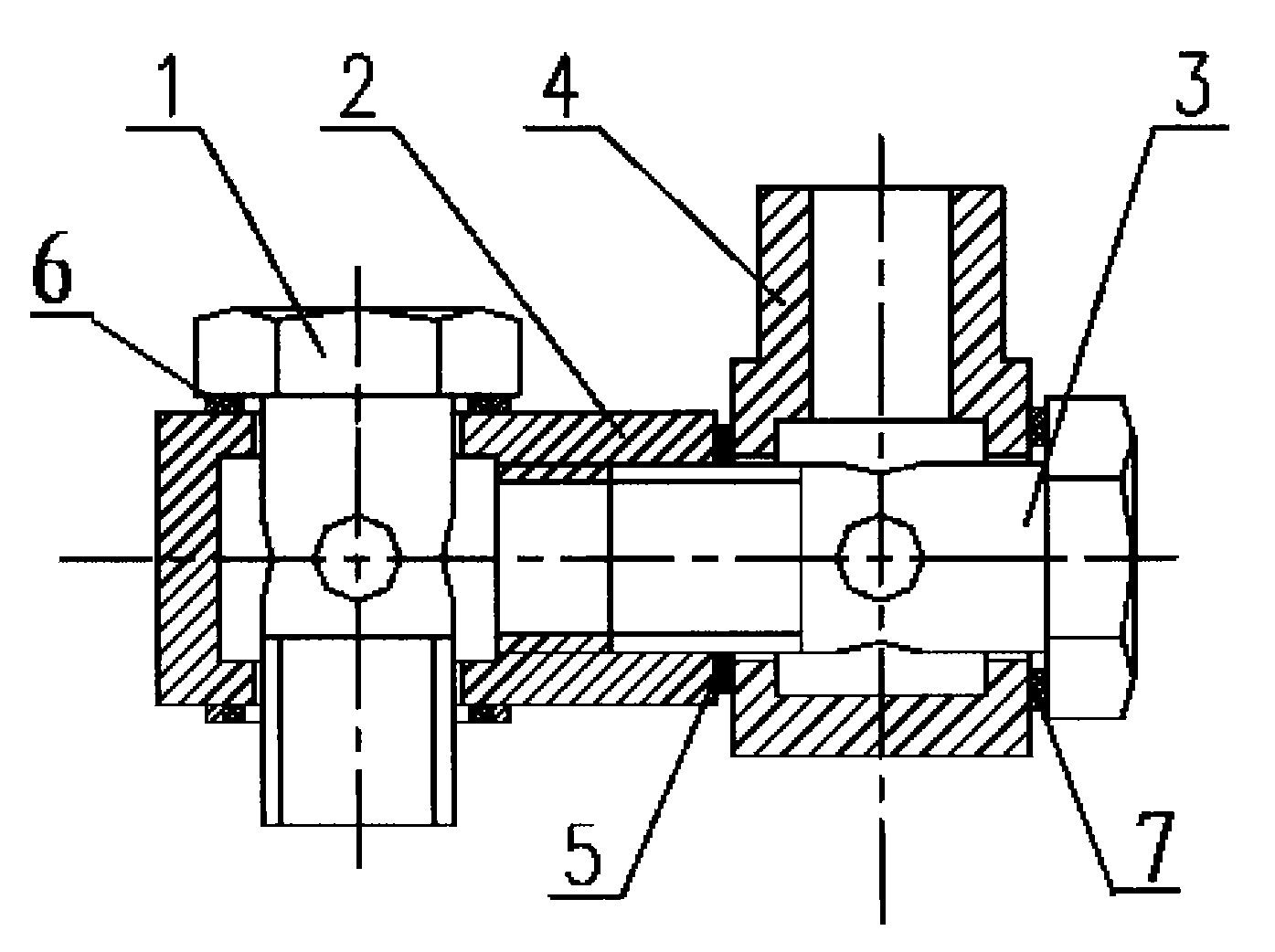
一种可任意调整联接方向的液压管接头
图片尺寸1395x1042
燃油喷射装置设计-油管残留压力测试【含17张cad图纸】
图片尺寸375x594
cn201391240y_偏梯形螺纹油管接箍有效
图片尺寸975x555
一种柴油机油管快速接头
图片尺寸1000x517
压燃式发动机油管残留测量装置设计-全套设计
图片尺寸422x594
油管加工图纸
图片尺寸690x490
一种油气井分体式大流量套管头的制作方法
图片尺寸543x352
通用管接头下载(141.50 kb,dwg格式) 机械cad图纸
图片尺寸1200x688
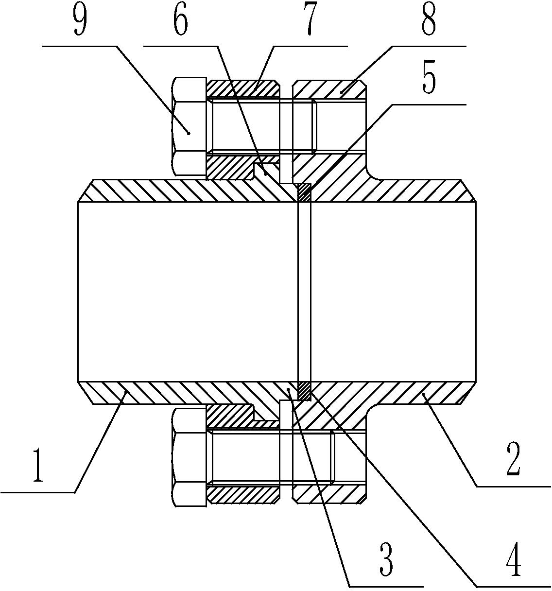
油管接头密封连接结构-爱企查
图片尺寸1136x1216
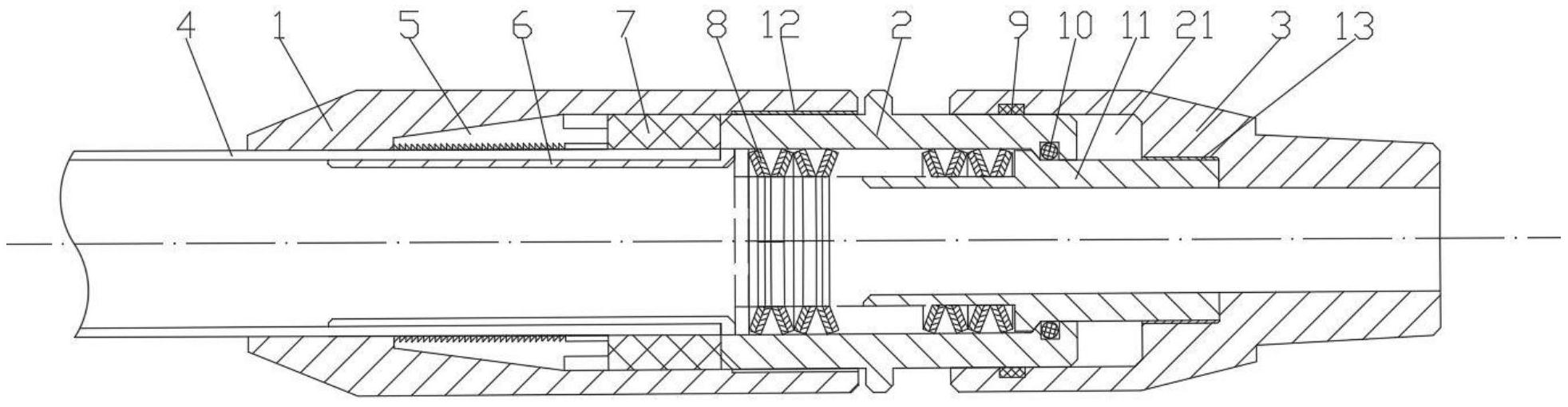
cn213330932u_连续油管底部连接器有效
图片尺寸1964x510
1-83 卡套式端三通管接头
图片尺寸1976x2944
20°油管接头
图片尺寸1024x655