泄压阀剖面图

电热水器泄压阀的作用有哪些
图片尺寸800x320
安全持压泄压阀流量控制阀
图片尺寸1920x1911
高压共轨泄压阀结构示意
图片尺寸414x382
18640安全阀背压阀upvc塑料泄压阀由令承插连接的原理作用
图片尺寸750x564
cn2417348y_自动管道高压泄压阀失效
图片尺寸928x906
一种新型真空泄压阀
图片尺寸660x1000
ax742x安全泄压持压阀结构介绍与工作原理
图片尺寸2454x2448
泄压阀
图片尺寸838x1060
500x持压泄压阀
图片尺寸400x415
家用电热水器上不可忽视的阀门,安全泄压阀
图片尺寸500x438
cn201096214y_过压泄压阀失效
图片尺寸800x1007
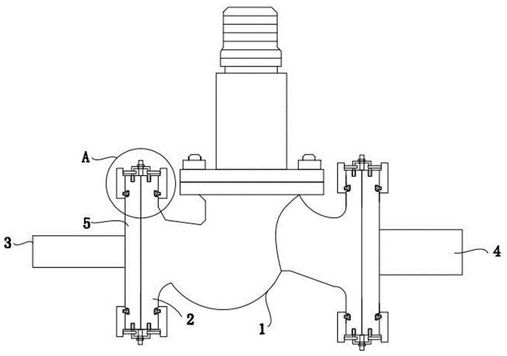
高压多功能泄压阀的制作方法
图片尺寸798x1000
家用电热水器上不可忽视的阀门,安全泄压阀
图片尺寸500x438
美国力高rego黄铜气体安全阀3129g低温泄压阀 弹簧式
图片尺寸800x800
一种先导式压力泄压阀
图片尺寸1373x2041
供应pvc安全阀,pvc 安全阀(图) 泄压阀rxaf-p6/1.
图片尺寸577x376
cn209414719u_一种配料罐的泄压阀有效
图片尺寸1000x702
一种管道截止阀用先导式泄压结构的制作方法
图片尺寸1000x842
氮气控制泄压阀
图片尺寸596x654
美标安全泄压阀
图片尺寸626x386