波导窗原理

low-e双中空玻璃原理图|图源网络
图片尺寸1080x668
单向透视玻璃工作原理简介图
图片尺寸1920x1430
单向透视玻璃原理-单向透视玻璃厂家
图片尺寸640x287
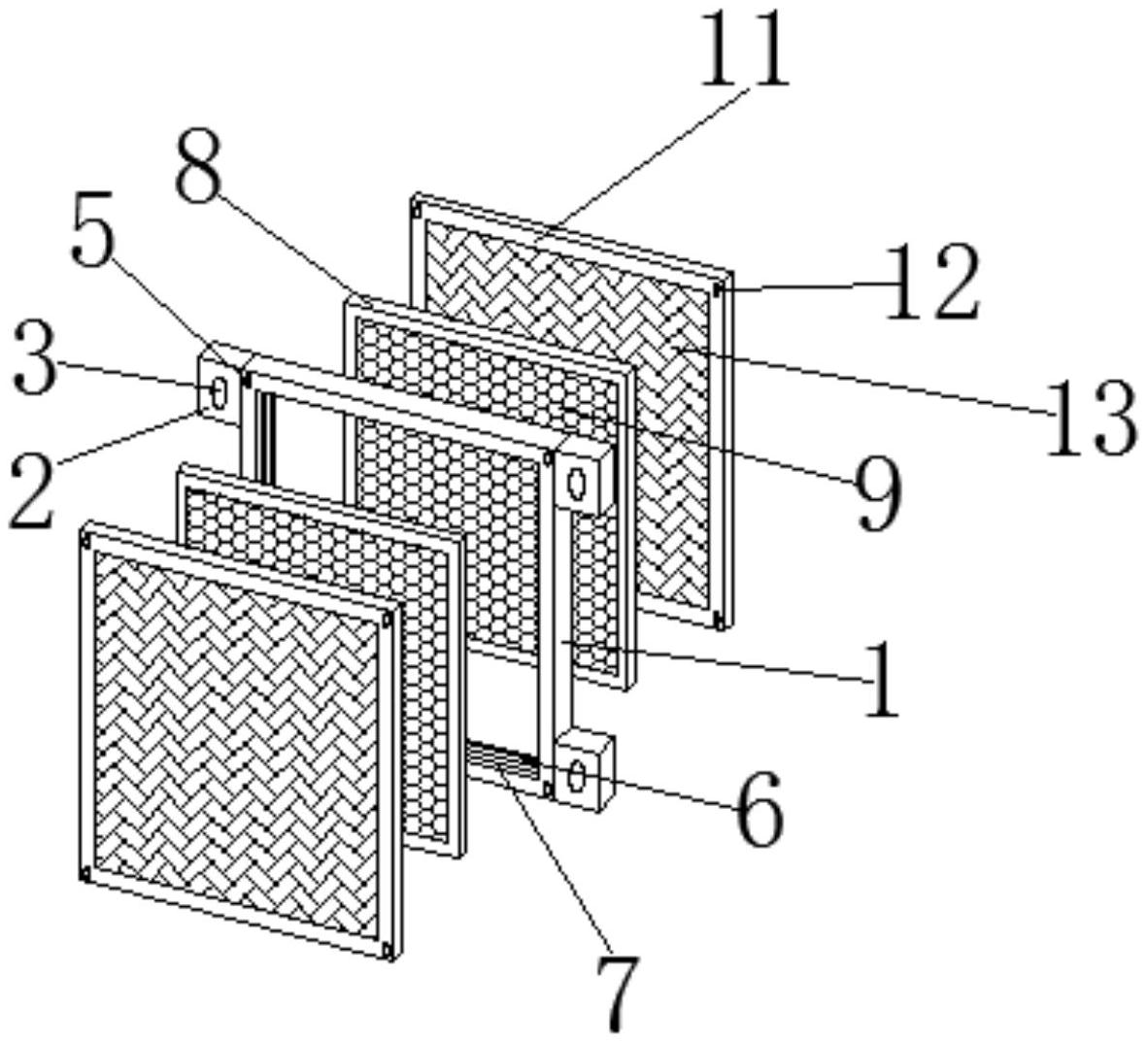
一种组装式电磁屏蔽波导窗-爱企查
图片尺寸1182x1074
一种组装式电磁屏蔽波导窗的制作方法
图片尺寸1000x909
一种高屏蔽通风蜂窝型波导窗的制作方法
图片尺寸822x1000
深度解密系统门窗前世今生,今天"它"来了!
图片尺寸640x274
多层高屏蔽波导窗结构的制作方法
图片尺寸443x375
一种通风型波导窗制造技术
图片尺寸782x1000
真空玻璃隔音窗
图片尺寸420x509
技术专栏通风系统电磁脉冲防护关键技术研究摘录
图片尺寸528x307
污染_地面_主体工程
图片尺寸517x339
单向透视玻璃是什么应用原理 - 特盾特玻
图片尺寸640x285
可用于v波段和w频段的电磁波屏蔽通风波导窗的制作方法
图片尺寸923x1000
波导窗灯箱插座箱
图片尺寸475x372
波导密封窗制作工装的制作方法
图片尺寸1000x553
电磁屏蔽机房内波导窗光纤波导管截止波导的详细原理
图片尺寸310x384
江西铅水泥钡沙-厂家
图片尺寸600x600
江西铅水泥钡沙-厂家
图片尺寸600x399
云南x射线铅房钡板-辐射防护施工
图片尺寸600x450