波导耦合器

特殊和定制的定向耦合器
图片尺寸400x300
pasternack推出新型射频及微波波导定向耦合器产品线
图片尺寸798x523
英联微波推出系列波导正交模耦合器
图片尺寸1600x800
波导探针耦合器
图片尺寸958x452
波产品供应商美国pasternack公司推出一系列新型十字交叉式波导耦合器
图片尺寸650x465
超宽带十字定向波导耦合器c9815-50-nf-wr75
图片尺寸1527x1600
汉天汉天x波导耦合器
图片尺寸300x300
波导交叉耦合器fmwcp1067 7.05ghz-10ghz cpr-112g法兰20db-112
图片尺寸700x700
双脊波导耦合器
图片尺寸350x350
e波段和f波段波导h面t型缝隙耦合器
图片尺寸836x523
pasternack毫米波定向波导耦合器
图片尺寸400x400
进口wr75bj12010-15ghz40db56.7db50db射频波导耦合器其它元器件
图片尺寸2048x1536
汉天微波x 波导耦合器
图片尺寸3024x3024
波导十字定向耦合器
图片尺寸912x634
邻水双脊型波导固定衰减器 矩形宽壁多孔定向耦合器 注意哪几个方面
图片尺寸450x450
载波通信耦合器
图片尺寸1000x1000
进口wr75bj12010-15ghz40db56.7db50db射频波导耦合器其它元器件
图片尺寸2048x1536
波导定向耦合器课程ppt
图片尺寸1080x810
波导型分支耦合器
图片尺寸1088x864
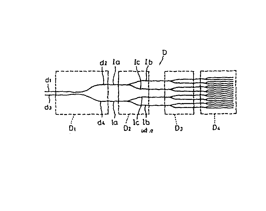
拉锥光纤平板波导耦合电场测量传感器的参数优化与结构改进
图片尺寸700x452