洗果机简图

一种洗果机的制作方法
图片尺寸1000x541
cn209749753u_卧式电解水果蔬清洗机有效
图片尺寸947x1000
一种用于果蔬的气泡清洗机
图片尺寸1923x1972
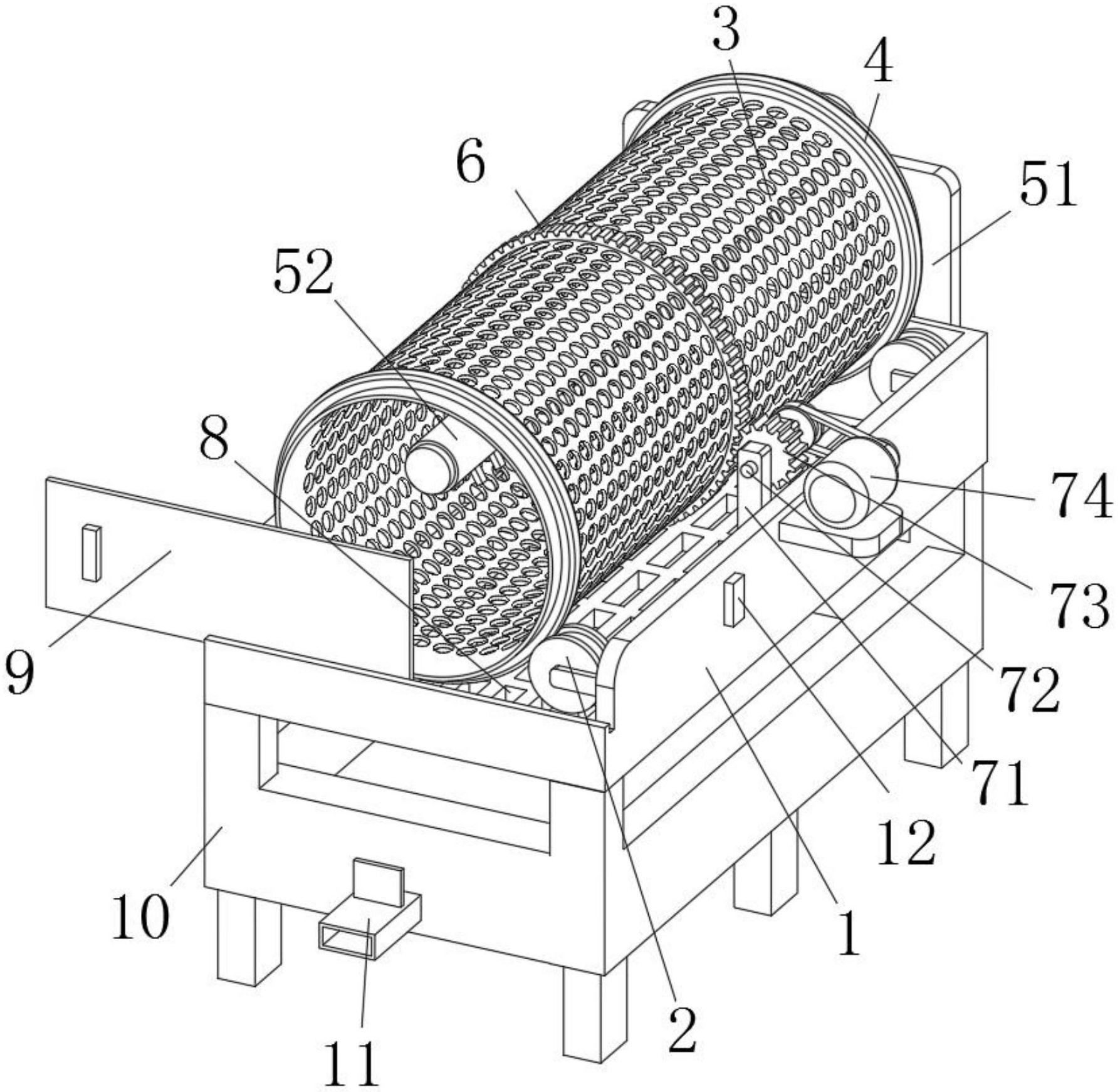
一种果汁生产用洗果机
图片尺寸1787x1743
一种高效果蔬清洗机的制作方法
图片尺寸798x1000
一种洗果机制造技术
图片尺寸1000x652
cn201515681u_一种果蔬清洗机失效
图片尺寸1797x1061
一种高效果蔬清洗机的制作方法
图片尺寸1000x384
一种含气果汁饮料生产用冲浪式洗果机的制作方法
图片尺寸1000x974
果蔬清洗机的制作方法
图片尺寸1000x873
一种双毛刷辊式水果清洗机的制作方法
图片尺寸1000x731
一种新型水果清洗机的制作方法
图片尺寸389x443
一种具有预清洗除杂功能的果蔬清洗机的制作方法
图片尺寸443x363
一种水果清洗装置的制作方法
图片尺寸443x397
cn108391830a_一种具有杀菌功能的水果清洗机在审
图片尺寸1688x759
一种果蔬清洗机的制作方法
图片尺寸1000x940
一种无药残果蔬气泡清洗机的制作方法
图片尺寸1000x848
一种洗果机的制作方法
图片尺寸1000x359
一种油茶果清洗机制造技术
图片尺寸1000x815
厂家供应直销冲浪式洗果机来电议价
图片尺寸505x369