活塞杆简图

活塞杆pdf
图片尺寸800x568
活塞杆pdf
图片尺寸920x650
活塞连杆部分
图片尺寸824x1110
画了一个液压杆活塞图,请大家指导一下其中的错误.
图片尺寸1180x610
柴油机活塞连杆零件图.png
图片尺寸800x500
活塞杆pdf
图片尺寸800x566
活塞杆.dwg
图片尺寸1200x800
活塞连杆组主要包括哪些零件和组成部分名称
图片尺寸600x375
活塞杆零件机械加工工艺及钻互成120度的3个斜孔夹具设计
图片尺寸1200x800
液压缸活塞杆.dwg
图片尺寸1200x800
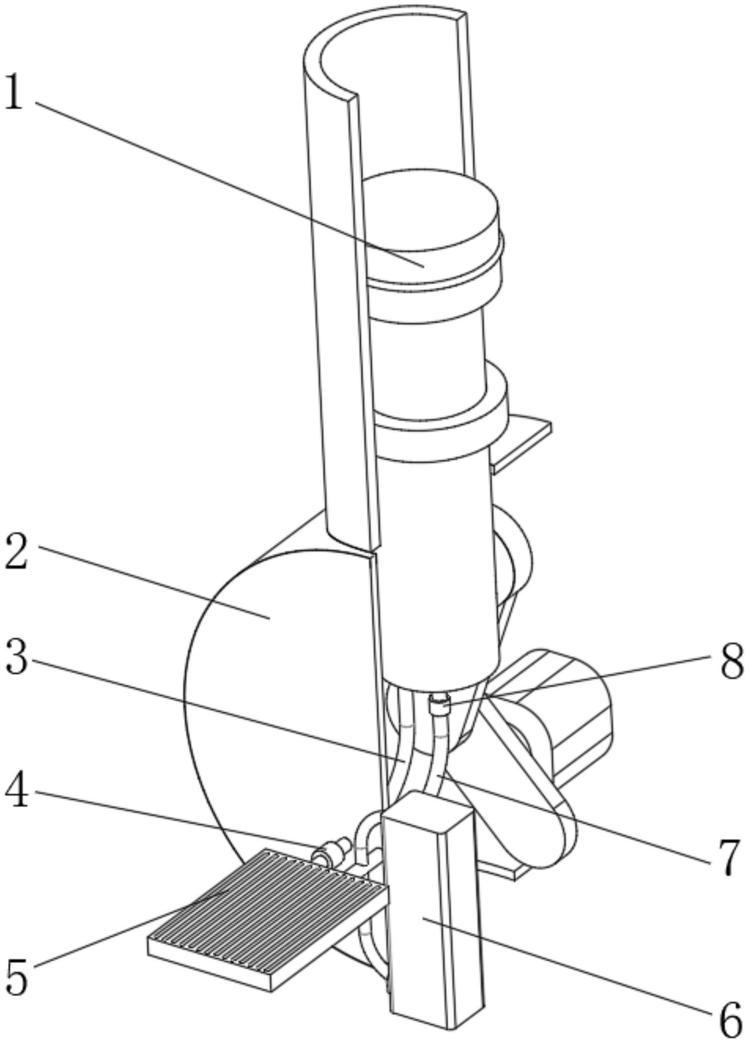
一种往复式压缩机活塞杆
图片尺寸1487x2070
介绍活塞杆的机械加工工艺
图片尺寸684x349
升降活塞杆a3
图片尺寸830x654
活塞杆零件图a2
图片尺寸808x562
活塞杆cad装配图
图片尺寸926x481
活塞杆零件图
图片尺寸820x494
apr03 油缸设计图纸活塞杆.dwg缩略图
图片尺寸839x594
a3-活塞杆.dwg
图片尺寸1200x800
活塞杆cad图纸及工艺卡
图片尺寸491x603
液压缸活塞杆.dwg缩略图
图片尺寸840x594