活塞枪构造

导气活塞/枪机组的运动
图片尺寸1024x1236
原创一个弹匣只有20发几秒打光全部子弹79式冲锋枪为何经久不衰
图片尺寸640x334
发动机活塞机械夹爪气动三爪多连杆运动机构这个健身的熟悉吗?
图片尺寸575x601
白色的柱状部份就是旋转式的枪机闭锁装置了,闭锁装置上方的孔是活塞
图片尺寸450x257
气动步枪活塞型
图片尺寸1004x860
活塞|步枪|枪机_新浪新闻
图片尺寸375x194
导气活塞与枪机组
图片尺寸804x369
gsn40c腾瓦斯枪气缸活塞杆瓦斯枪 风扇叶组件
图片尺寸788x788
枪刚研发出来,仗却打完了,生不逢时的stg45突击步枪|机枪|活塞|stg
图片尺寸390x204
手枪原理结构图_南阳吧_百度贴吧
图片尺寸550x412
一种玩具水弹枪
图片尺寸1922x888
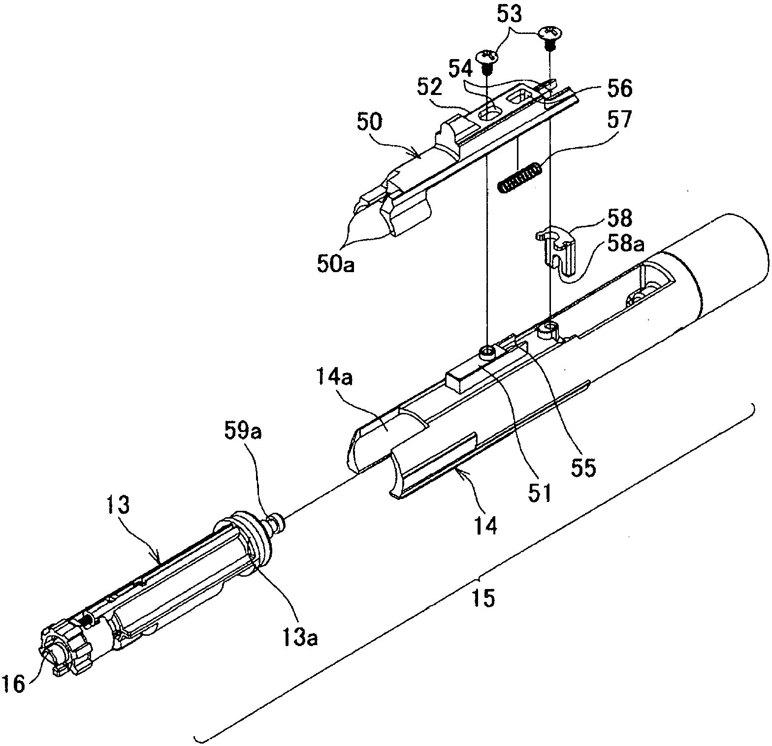
仿真枪中的活塞机构的缓冲装置
图片尺寸1568x1516
设有回位组件,回位组件包括回位缸体,以及设置在回位缸体内的回位活塞
图片尺寸280x300
著名枪械结构图
图片尺寸640x370
部分火药气体由枪管下方靠近末端处一导气孔进入一个小活塞筒内,推动
图片尺寸154x220
手枪原理结构图_南阳吧_百度贴吧
图片尺寸550x450
cn201089152y_气动錾削枪失效
图片尺寸2068x2309
这种水弹枪的动力机构非常简单,其由扳机,活塞挂钩,倒七,气缸,活塞
图片尺寸500x318
枪单双压杆挖掘机高压汽车黄油机润滑自吸透明牛油抢小型 600cc单活塞
图片尺寸790x1315
全球十大手枪top6——德国hkp7手枪_枪管_活塞式_后坐
图片尺寸1082x640