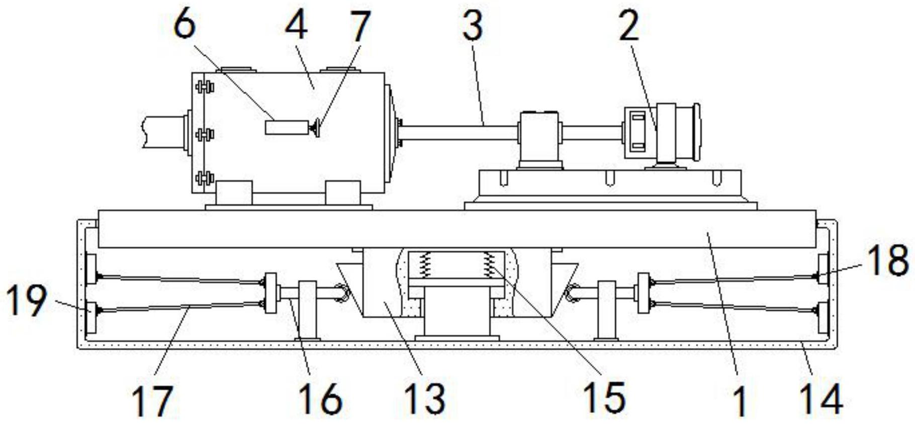
浇注机原理图

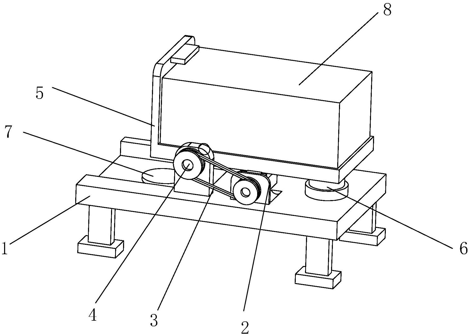
一种拆装式可批量浇注的离心浇注机
图片尺寸1820x845
商标logo
图片尺寸2068x2076
一种糖果浇注机自动配料计量装置-爱企查
图片尺寸800x780
cn212487774u_一种果园智能灌溉系统有效
图片尺寸1732x1250
一种应用于高寒地区农作物的智能灌溉系统
图片尺寸1513x1007
具有这样的特征,包括:电气控制箱,控制自动浇注系统;以及浇注机平台
图片尺寸1514x1231
高效凝胶糖果浇注机的制作方法
图片尺寸415x443
一种旋转浇注机的制作方法
图片尺寸443x369
一种自动浇注机的制作方法
图片尺寸598x463
一种新型铝锭浇注机的制作方法
图片尺寸443x291
浇注系统 (机械)
图片尺寸305x378
一种高分子材料聚氨酯浇注机的制作方法
图片尺寸428x444
c2000内嵌plc功能的注塑机应用方案
图片尺寸341x297
一种采用视频监控的全自动底注式全自动浇注机制造技术
图片尺寸586x552
聚氨酯自动浇注机的制作方法
图片尺寸386x443
一种真空泵铸件自动垂直浇注机-爱企查
图片尺寸1837x1315
浇注系统
图片尺寸480x976
一种卧式离心石蜡浇注机的制作方法
图片尺寸1000x630
智能水肥一体化滴灌喷灌设备全自动农业灌溉水肥机
图片尺寸640x608
一种跨线倾转式浇注机的制作方法
图片尺寸419x443