测量仪表机构

测量仪表机构
图片尺寸538x372
磁电系仪器仪表测量机构与工作原理
图片尺寸267x298
铜川市仪器仪表校验中心计量检测机构
图片尺寸500x386
检测,仪器校准,仪器外校,仪器检定,实验室仪器检测请三方仪器检测机构
图片尺寸1080x1440
莱阳计量仪表检测十几年计量机构
图片尺寸500x400
陕西正规仪器仪表检测校准计量服务机构
图片尺寸520x520
磁电系仪器仪表测量机构与工作原理
图片尺寸920x1302
电工指示仪表测量机构的几种装置
图片尺寸524x319
南京正规气体报警器检测服务中心
图片尺寸520x520
贺州仪表校验—专业检测机构
图片尺寸384x393
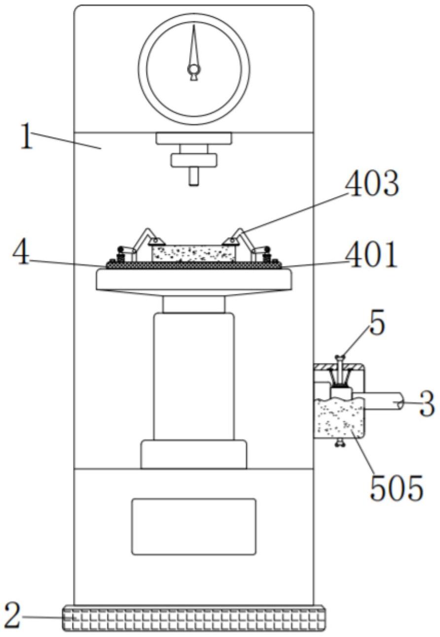
一种固定悬挂式测量仪表装置
图片尺寸1625x1141
计算下列图示机构的自由度.
图片尺寸520x288
苏州检定检具计量机构_苏州第三方检测机构
图片尺寸1080x1080
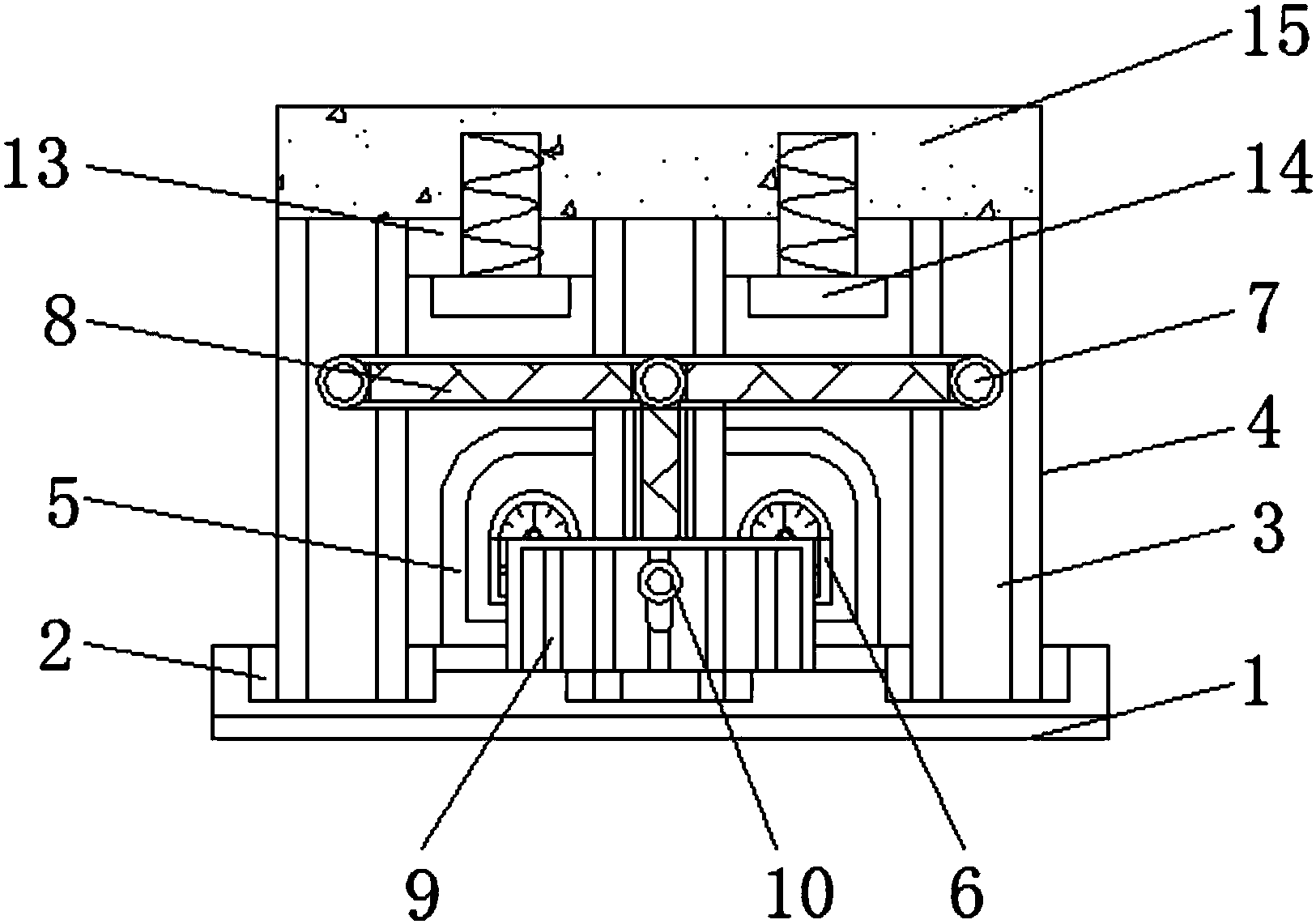
仪器仪表检测装置,包括仪器本体,所述仪器本体的内侧安装有固定机构
图片尺寸892x1290
测量仪表及自动化
图片尺寸648x405
一种通信仪表自动检测装置的制作方法
图片尺寸850x1000
扬州市第三方仪器仪表量具器具计量校准检测机构13712659101
图片尺寸536x643
西安正规仪器仪表检测校准计量机构
图片尺寸520x520
一种仪表检测装置_cn201922091975.0_知雀网
图片尺寸873x1000
一种仪表检测装置_cn201922091975.0_知雀网
图片尺寸1000x889