浮标原理

船舶科技专题营丨小浮标大能量海丝护航者argo你知道是什么吗
图片尺寸432x523
thk6060 水质生态监测浮标thk6060
图片尺寸565x323
油罐浮标液位计原理图
图片尺寸600x1187
阿基米德洗澡洗出来的原理:浮力等于排水量,应该怎么理解?
图片尺寸2800x2094
浮标液位计与质量安全的重要性
图片尺寸600x450
波浪海流水质气象监测浮标
图片尺寸636x511
图 某一argo浮标的典型工作
图片尺寸1575x1143
浮标测流的1.浮标测流的使用方法
图片尺寸800x521
一种海洋升降式浮标的制作方法
图片尺寸1000x857
2019届中考物理总复习第九章浮力知识点扫描与考点狙击 含答案
图片尺寸951x657
浮标液位计tc-zcul_北京通达智创仪器仪表有限公司
图片尺寸545x800
最新审定教科版五年级科学下册下沉的物体会受到水的
图片尺寸1080x810
浮标
图片尺寸589x340
电缆式浮球开关 全自动水泵浮球液位控制器 浮球开关 水位控制器
图片尺寸750x684
原理浮沉子浮沉子实际应用橡皮膜浮沉子所制器材效果图片浮沉子的制作
图片尺寸386x167
ssq-101空投浮标工作原理
图片尺寸750x1115
海洋科学综合观测浮标
图片尺寸787x951
浮标式液位计
图片尺寸777x360
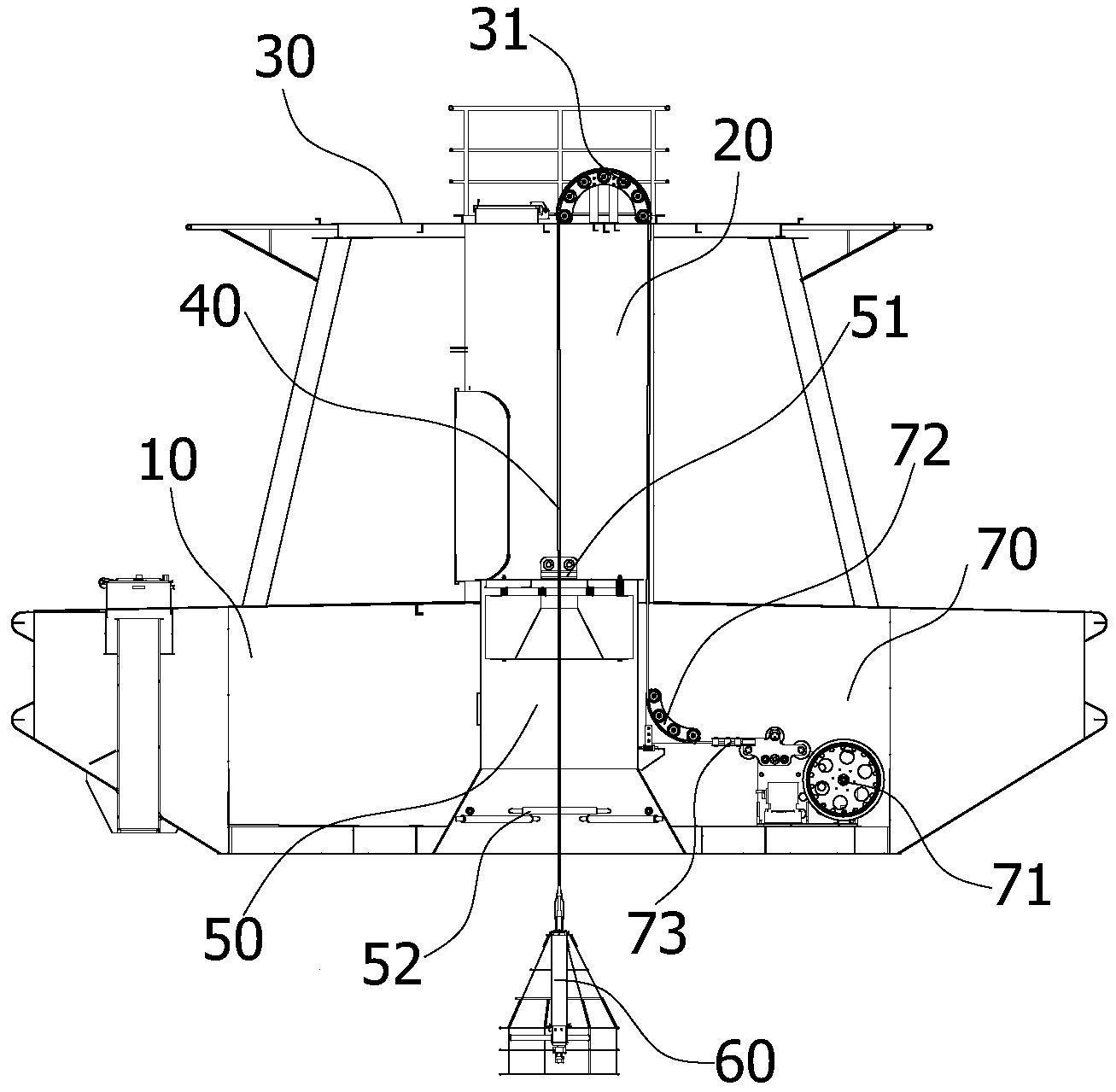
cn213649844u_一种海洋资料浮标有效
图片尺寸1307x1279
图2 海上监控点浮标示意图岸边码头的监控点,是在需要监控的码头附近
图片尺寸600x347