消力坎大样图

一种交错式坝坡弧形消力坎
图片尺寸571x303
一种侧偏型消力池尾坎结构的制作方法
图片尺寸1000x388
一种卫生间止水坎防水节点结构的制作方法
图片尺寸1000x569
一种带有凹槽非水平底板跌坎消力池的消能工和方法
图片尺寸1690x579
适用于陡坡小型河渠的生境多态性消能坎的制作方法
图片尺寸414x291
出水口引渠设计平面-剖面
图片尺寸615x432
一种可分散消能的多通道坎消力池的制作方法
图片尺寸1000x490
消力池堰塘拦水坝结构大样图片
图片尺寸991x512
消力急流槽的制作方法
图片尺寸1000x591
消力坎
图片尺寸220x143
包括挖深式消力池,坎式消力池,综合式消力池计算流程图 有详细公式和
图片尺寸512x384
一种带有消能球的动态消力池结构的制作方法
图片尺寸1000x430
消力池
图片尺寸1235x499
一种卫生间止水坎防水节点结构
图片尺寸1000x568
中博装饰丨防水工程预控 ▲正确做法:门槛石下部浇筑细石砼止水坎
图片尺寸1200x660
跌坎型底流消能工跌坎深度在工程优化设计中的应用
图片尺寸1032x734
一种带有凹槽非水平底板跌坎消力池的消能工和方法与流程
图片尺寸1000x344
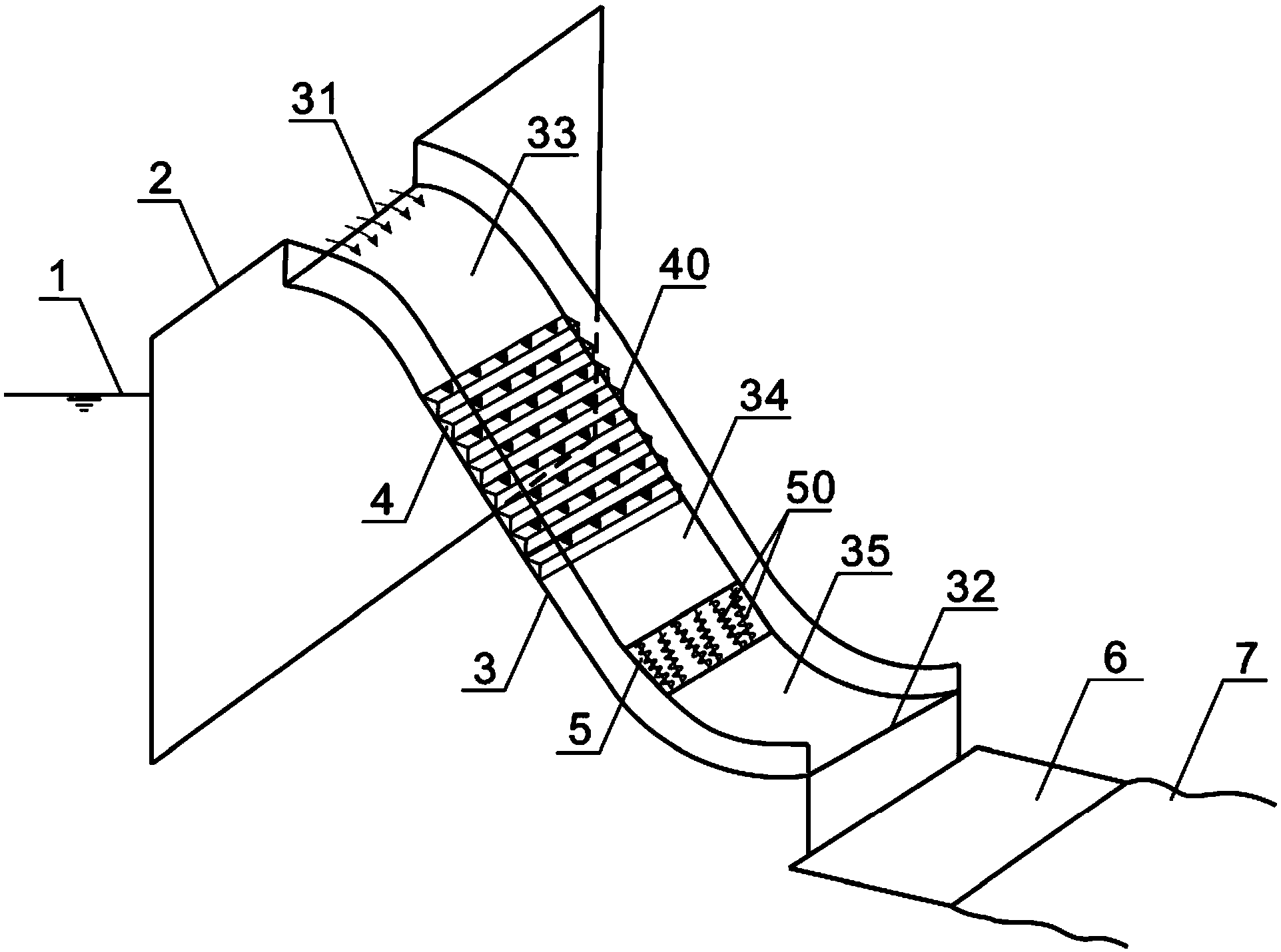
阶梯式螺旋反向旋转底坎式联合消能设施及消能方法
图片尺寸1923x1430
生态环境友好型的跌扩组合消能工
图片尺寸1915x816
挡水坎
图片尺寸782x563