消失模图纸

消失模铸造专用砂箱 - 机械设备图纸 - 沐风网
图片尺寸820x565
变速箱体消失模模具设计与制模工艺
图片尺寸1010x920
安装主体消失模铸造工艺设计及熔炼浇铸 - 模具图纸 - 沐风网
图片尺寸820x555
一种大尺寸复杂结构铸钢件消失模铸造系统技术方案
图片尺寸1000x995
消失模产品系列
图片尺寸487x394
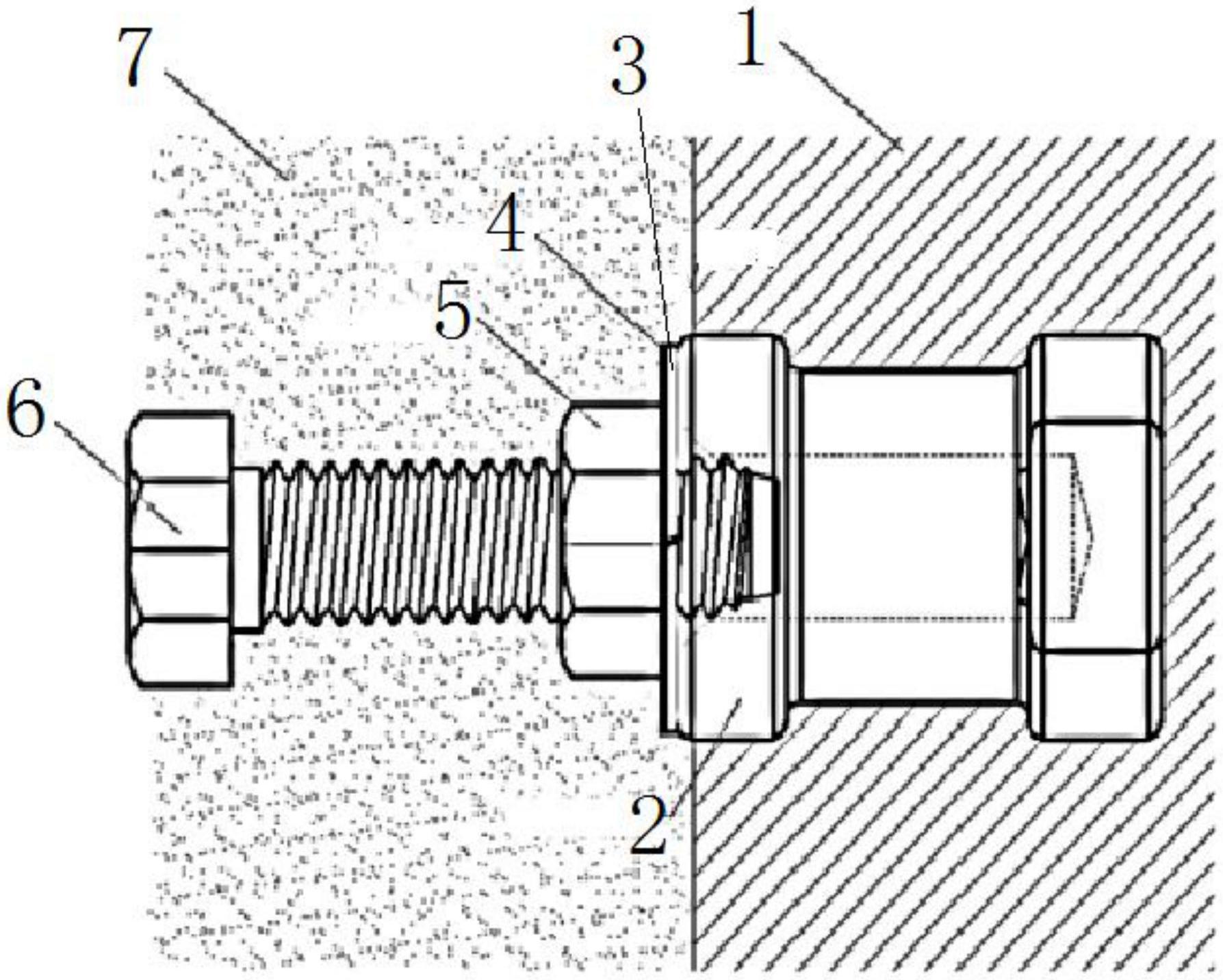
cn212598797u_一种铸入式螺栓的消失模铸造模具
图片尺寸1787x1432
model she530 injection unit a b screw diamete
图片尺寸586x546
us 20100163523 a1
图片尺寸2101x2529
一种可靠的消失模真空铸造箱体的制作方法
图片尺寸444x423
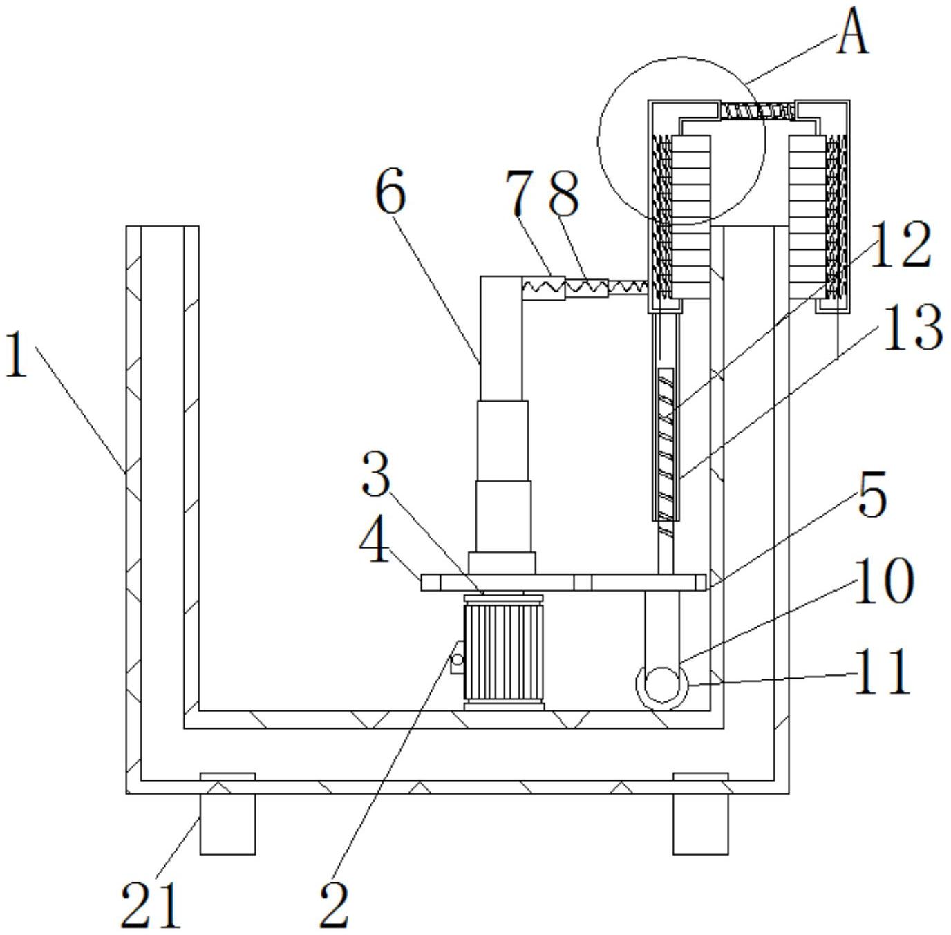
cn212884893u_一种可保证内部负压均匀的消失模铸造用砂箱有效
图片尺寸1376x1353
qdj2908y1
图片尺寸1568x837
一种整体铸造中部槽的消失模铸造砂箱及工艺
图片尺寸1750x1631
cn206747550u_一种底卸式消失模砂箱有效
图片尺寸406x324
一种整体铸造中部槽的消失模铸造砂箱及工艺的制作方法
图片尺寸1000x932
铲板槽帮消失模模型拆分系统的制作方法
图片尺寸444x360
铸造消失模用震实台全套cad图纸
图片尺寸291x218
m3901256b3117
图片尺寸1700x1100
教学航模(9)
图片尺寸1184x962
年产万吨消失模铸件车间布置方案下载(2.45 mb,dwg格式) 机械cad图纸
图片尺寸1069x483
航模图纸
图片尺寸1188x918