液体混合装置

天津不锈钢液体混合罐 物料保温储罐 立式平盖搅拌混合机厂家
图片尺寸750x750
cst-m07厂家直销流体混合器 液体混配器切削液 乳化液 混配器
图片尺寸1920x1440
液体混合系统jy-lm50 jy-lm100 jy-lm300jy-lm500
图片尺寸450x486
多种液体混合plc仿真控制 plc液体混合装置 西门子1200plc多种液体
图片尺寸930x581
组态王的两种液体混合搅拌组态模拟仿真液体混合装置控制的模拟
图片尺寸1248x720
一种多液体多通道混合装置-爱企查
图片尺寸563x565
一种液体农药混合装置-爱企查
图片尺寸493x800
不锈钢管道式汽水混合器沉浸式液体加热器蒸汽式静音混合加热装置
图片尺寸800x800
概述 利用液体混合物中各组分挥发度的差别,使液体混合物部分汽化并
图片尺寸507x567
不锈钢管道式汽水混合器沉浸式液体加热器蒸汽静音混合加热器装置
图片尺寸1200x1600
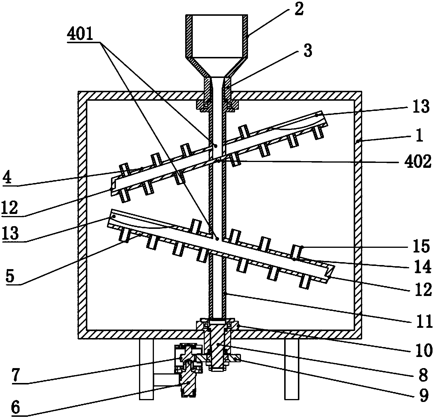
一种液体物料混合装置
图片尺寸1486x1432
它是一种基于负压下液体混合物中沸点差异来分离混合物的方法.
图片尺寸640x480
基于力控forecontrol v7.0的多种液体混合装置控制模拟组态仿真
图片尺寸1248x720
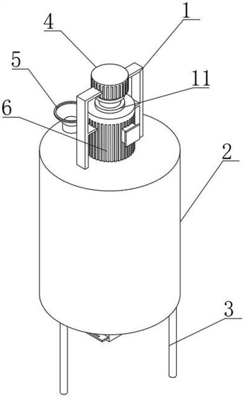
一种湿强剂制备用液体混合装置-爱企查
图片尺寸645x800
液体混合自动控制系统毕业论文设计.doc
图片尺寸550x380
php平衡式泡沫比例混合装置在适用哪些领域呢
图片尺寸921x921
一种液体混合配制装置
图片尺寸979x1000
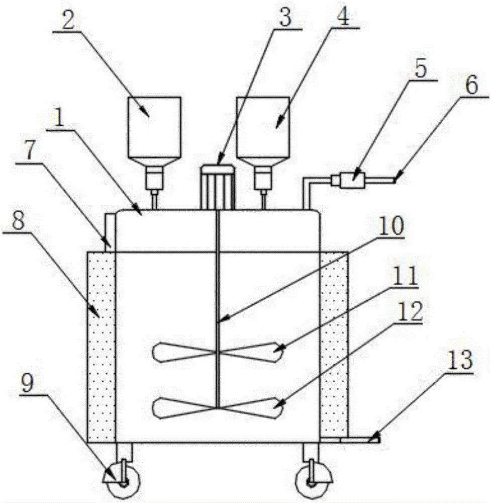
一种医药化工液体混合装置的制作方法
图片尺寸711x1000
一种液体助剂高效混合装置-爱企查
图片尺寸454x743
防爆磁力搅拌器液体混合搅拌装置调温磁力加热搅拌锅
图片尺寸800x800