液压推杆结构图

平行式电液推杆
图片尺寸1037x582
电动推杆-产品展示-扬州科锐特液压机械有限公司
图片尺寸760x636
p>电液推杆是一种集机,电,液为一体的液压驱动机械手,适用于需要往复
图片尺寸1291x913
一种新型电液推杆
图片尺寸683x1000
电液推杆dytz电动平行式 整体直式dytp工业小型 电动推杆液压推杆
图片尺寸800x1031
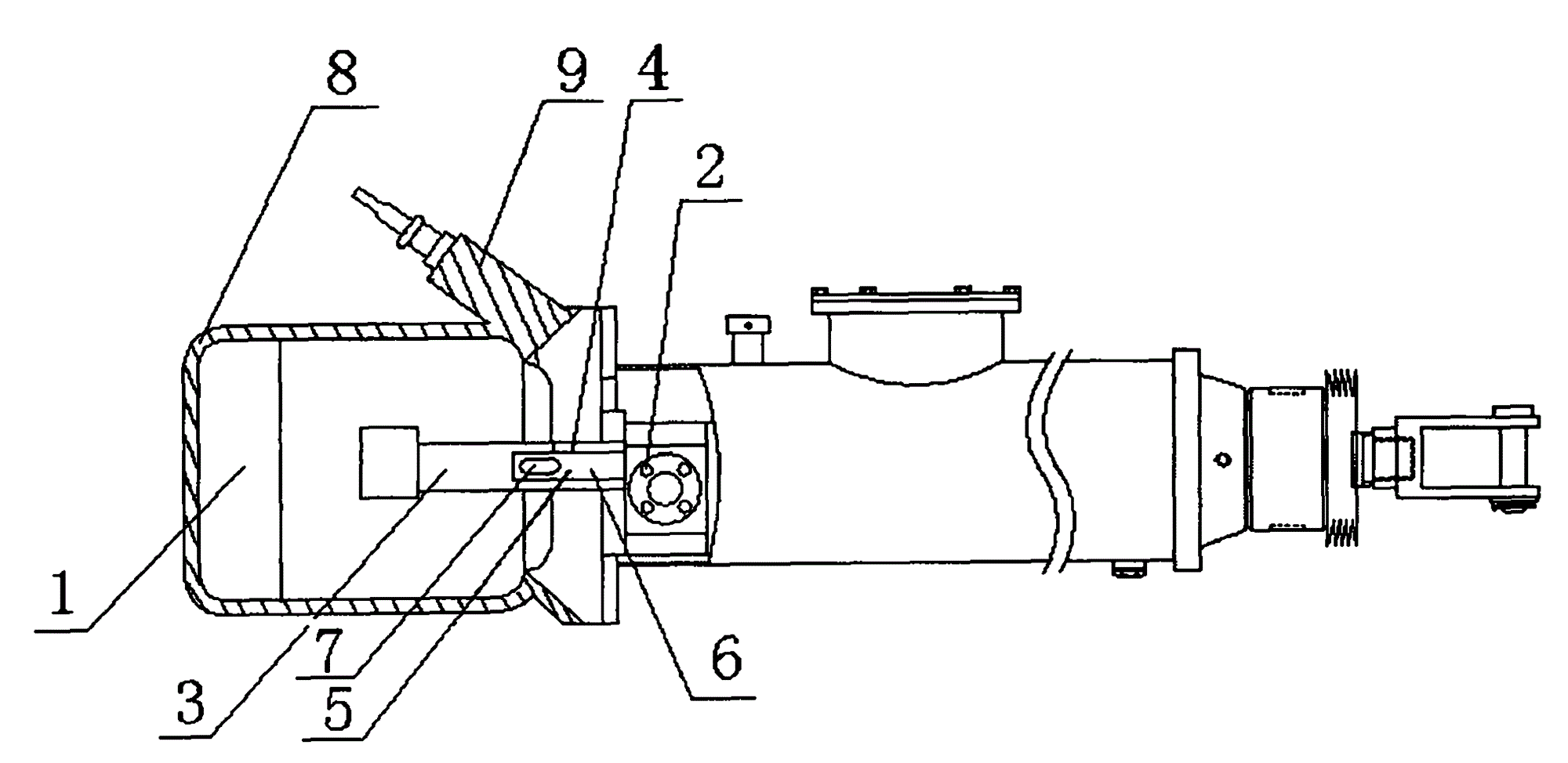
cn206429483u_一种带机械自锁的液压推杆有效
图片尺寸863x278
dyt电液推杆系列产品.doc
图片尺寸993x1404
单推杆电力液压推动器结构图
图片尺寸440x530
专业从事生产各种规格液压传动设备,电液推杆,电液动推杆,电液动平板
图片尺寸844x450
cn102454653a_潜水紧凑型电液推杆失效
图片尺寸2000x974
流体压力执行机构一般液压技术和气动零部件的制造及其应用技术
图片尺寸1000x309
品质保证 值得信赖 厂价电液推杆订制-「其他液压元件」-马可波罗网
图片尺寸550x710
一种液压驻车推杆总成,自动变速器和汽车的制造方法与工艺
图片尺寸1000x816
整体直式微型电液推杆
图片尺寸700x274
电液推杆组合阀原理图
图片尺寸550x543
电液推杆生产厂家/ dt电动推杆工业电动推杆 dtia-700/110-60
图片尺寸906x874
电液推杆结构简图及装配图
图片尺寸628x255
dytc系列电液推杆-液压元件-江西华伍制动器股份有限公司-今日制造
图片尺寸950x296
电动推杆 椿本电动动力缸 电推杆 电缸-中国 上海上海_水处理设备
图片尺寸988x616
cn104454770a_具有精确角度控制的电液推杆失效
图片尺寸896x496