液压锤原理

液压破碎锤的原理
图片尺寸1218x1131
液压破碎锤系统建模与仿真_杨国平
图片尺寸2036x723
液压破碎锤工作原理详解图文
图片尺寸515x724
googletestextensionoptionpage老师傅教你如何正确使用液压破碎锤
图片尺寸398x624
menck液压打桩锤工作原理
图片尺寸1430x2034
液压破碎锤的原理
图片尺寸1199x1331
液压打桩锤到底和柴油锤有什么区别?未来会不会代替柴油锤?
图片尺寸640x391
cn100473475c_防冲顶液压电液锤失效
图片尺寸1680x2493
你会使用液压破碎锤,但不一定知道他的工作原理
图片尺寸809x625
液压破碎锤
图片尺寸576x440
液压打桩锤
图片尺寸451x408
挖机课堂破碎锤的工作原理及正确使用
图片尺寸403x740
破碎锤氮气加多了会爆炸?真的不是危言耸听!
图片尺寸640x678
cn107013523b_一种液压锤的换向装置及使用方法有效
图片尺寸355x506
全液压电液锤是传统电液锤的换代产品,是一种目前最为节能,环保的新型
图片尺寸304x443
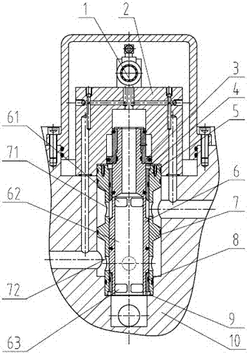
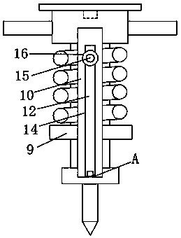
cn208196689u_一种高安全性液压锤有效
图片尺寸259x340
> 液压机.
图片尺寸1080x810
液压破碎锤头使用ppt
图片尺寸1080x810
高速液压夯实机在台背回填中的应用
图片尺寸800x496
液压夯实机原理 (2).png
图片尺寸638x393