涵洞简笔画

🚇隧道简笔画探秘🎨
图片尺寸341x512
涵洞设计与施工要点全面解析
图片尺寸621x399
涵洞工程图ppt
图片尺寸1080x810
涵洞(横穿路基的小型泄水构筑物)
图片尺寸789x981
涵洞
图片尺寸446x273
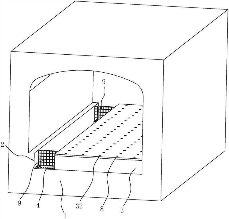
箱板组合式结构涵洞
图片尺寸1552x817
圆涵1涵洞构造1)洞口:分入口和出口,由基础,锥墙,翼墙,帽石组成2)洞身
图片尺寸750x609
如何识读涵洞工程图?
图片尺寸989x709
装配式道路拱形涵洞结构
图片尺寸1838x1215
管涵指采用整体式基础,涵身为预制钢筋混凝土圆管拼装在涵座上的涵洞
图片尺寸893x382
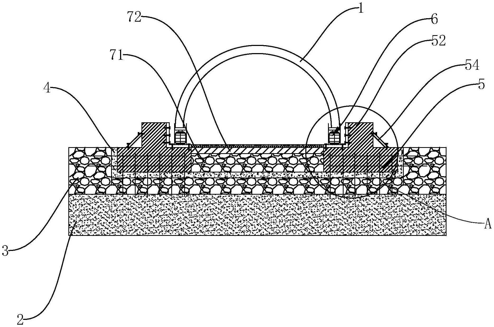
一种开口式波纹钢涵洞结构
图片尺寸1872x1238
管涵指采用整体式基础,涵身为预制钢筋混凝土圆管拼装在涵座上的涵洞
图片尺寸551x338
🚇隧道的简笔画🎨
图片尺寸341x512
涵洞
图片尺寸511x204
涵洞
图片尺寸620x462
一种道路涵洞结构
图片尺寸800x766
一种可及时排水的水利涵洞
图片尺寸800x549
一种加固型涵洞
图片尺寸800x619
市政识图盖板涵及圆管涵结构示意图.#二建 #工程人 #涵洞结
图片尺寸1080x1920
灵活运用一点透视绘制各异海洋生物,结合色彩变化,可使画面更加生动
图片尺寸900x624