混凝土手绘

设置混凝土砌块
图片尺寸1100x1100
混凝土搅拌车手绘草图矢量照片
图片尺寸400x300
cn1315752c_高强透水混凝土地面砖及其生产方法有效
图片尺寸1236x709
一种混凝土搅拌站
图片尺寸1796x1228
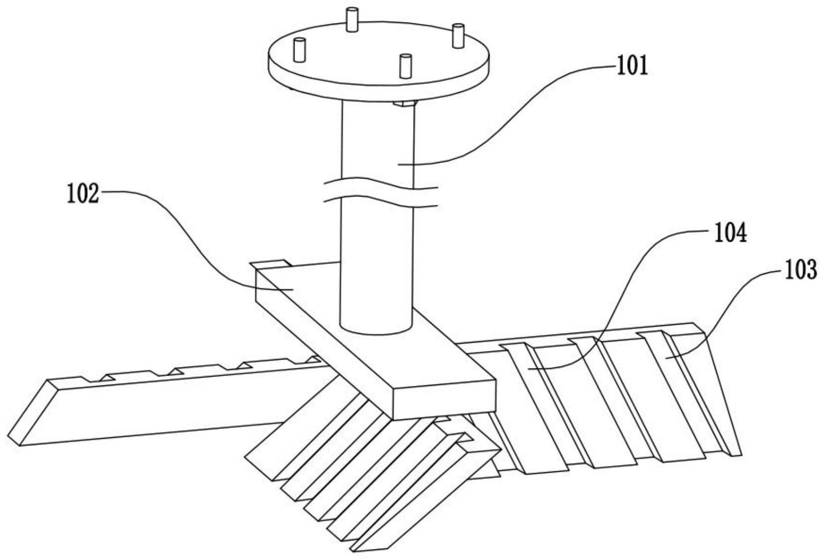
增强型透水性混凝土板的制作方法
图片尺寸1000x389![[分享]混凝土浇筑施工,震动棒使用方法,全攻落!](https://i.ecywang.com/upload/1/img2.baidu.com/it/u=410918017,818096161&fm=253&fmt=auto&app=138&f=JPEG?w=506&h=304)
[分享]混凝土浇筑施工,震动棒使用方法,全攻落!
图片尺寸533x320
白色混凝土凉棚:bar & pavilion belém / bak gordon arquitectos
图片尺寸800x696
设计考研手绘教程混凝土材质与肌理表达
图片尺寸1080x1391
混凝土建筑手绘
图片尺寸700x517
高中毕业的他造了座最神圣的清水混凝土建筑
图片尺寸600x424
cn113085003a_混凝土及其制备工艺在审
图片尺寸1653x1123
利用预制混凝土空心砌块建造低层住宅片段
图片尺寸306x424
一种水泥混凝土现浇梁桥面结构
图片尺寸508x216
混凝土屋顶覆盖着瓷砖,仿佛悬浮在空中,象征着这个世界共同的遗产.
图片尺寸4965x3508
一种道路透水混凝土路面集水结构的制作方法
图片尺寸1000x625
斜坡之上混凝土的艺术
图片尺寸1159x767
混凝土碳化的相关知识
图片尺寸490x366
一种自流平无收缩防腐混凝土楼地面的制作方法
图片尺寸443x327
混凝土工程图片
图片尺寸431x300
混凝土公司图片
图片尺寸300x300