清污机图纸

zxj型滚筒式清洗机1
图片尺寸936x525
移动抓斗式清污机厂家/新河县运宇水工sell/抓斗清污机生
图片尺寸528x734
gq型格栅式清污机|回转式清污机
图片尺寸605x646
一种滚筒式药物清洗机的制作方法
图片尺寸1000x521
平面筛板格栅清污机
图片尺寸1676x2572
制造格栅除污机 反转式格栅清污机 全自动拦截格栅除污器
图片尺寸1000x855
机械格栅 清污机拦污栅 回转式格栅除污机生产厂家
图片尺寸813x527
一种滚筒式血蛤清洗机
图片尺寸444x380
滚筒式红薯清洗机设计【蔬菜清洗机】
图片尺寸1200x800
cn110369432a_非表面接触式玻璃清洗机在审
图片尺寸999x1000
回转式清污机下载(140.41 kb,rar格式) 机械cad图纸
图片尺寸966x392
zsb4000型转刷网篦式清污机总图 - 污水处理设备图纸 - 沐风网
图片尺寸820x582
一种连续式双涡流水力清洗机的制作方法
图片尺寸1000x747
gshz格栅清污机
图片尺寸842x670
cn1067697a_高效节能型直门槽转耙式清污装置失效
图片尺寸1792x2304
一种清洗医疗仪器用超声波清洗机
图片尺寸1755x1477
oa2转鼓式格栅除污机
图片尺寸1311x927
耙斗式清污机
图片尺寸635x480
抓斗式清污机总体布置图cad图纸
图片尺寸630x442
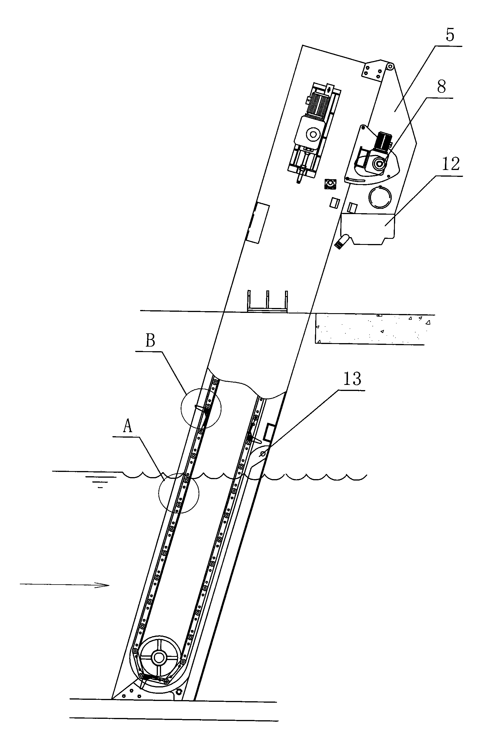
核电站回转式清污机的制作方法
图片尺寸680x1000