游资方新侠

方新侠是如何引领一个崭新的游资时代
图片尺寸994x666
曾经很多人一直搞不明白,方新侠为什么把席位选在陕
图片尺寸960x742
方新侠是如何引领一个崭新的游资时代
图片尺寸996x662
游资方新侠省广七进七出后又出手中金背后规律是什么
图片尺寸1728x1080
26岁赚到1个亿一个比赵老哥还神秘的男人解密顶级游资方新侠的发家史
图片尺寸641x424
1,成名id,"方新侠",在淘股吧论坛出没时间以2008
图片尺寸1337x622
1,成名id,"方新侠",在淘股吧论坛出没时间以2008
图片尺寸1340x639
震惊顶级游资方新侠与赵老哥同台啦
图片尺寸1080x608
龙虎详解拓维信息王者归来涨停突破顶级游资方新侠投入7297万
图片尺寸644x573
龙虎榜丨上海贝岭今日涨停 知名游资方新侠净买入3119.39万元
图片尺寸700x261
龙虎榜 | 咸亨国际今日跌停,知名游资方新侠卖出1730.
图片尺寸668x375
方新侠席位在哪个营业部_方新侠游资介绍_方新侠进入的股票会涨吗
图片尺寸440x330
来看看方新侠炒股养家退学炒股一瞬流光等游资大佬早些年的一些言论
图片尺寸1230x907
83% 知名游资方新侠净买入1302.53万元 _ 东方财富网
图片尺寸700x268
龙虎榜 | 中文在线今日涨停,知名游资方新侠买入7148.
图片尺寸668x375
右二身穿红色体恤的是方新侠2013年,方新侠发言在
图片尺寸509x311
游资大佬方新侠心法
图片尺寸720x960
游资和机构动向总览:方新侠(含朱雀大街):买入_财富号_东方财富网
图片尺寸886x753
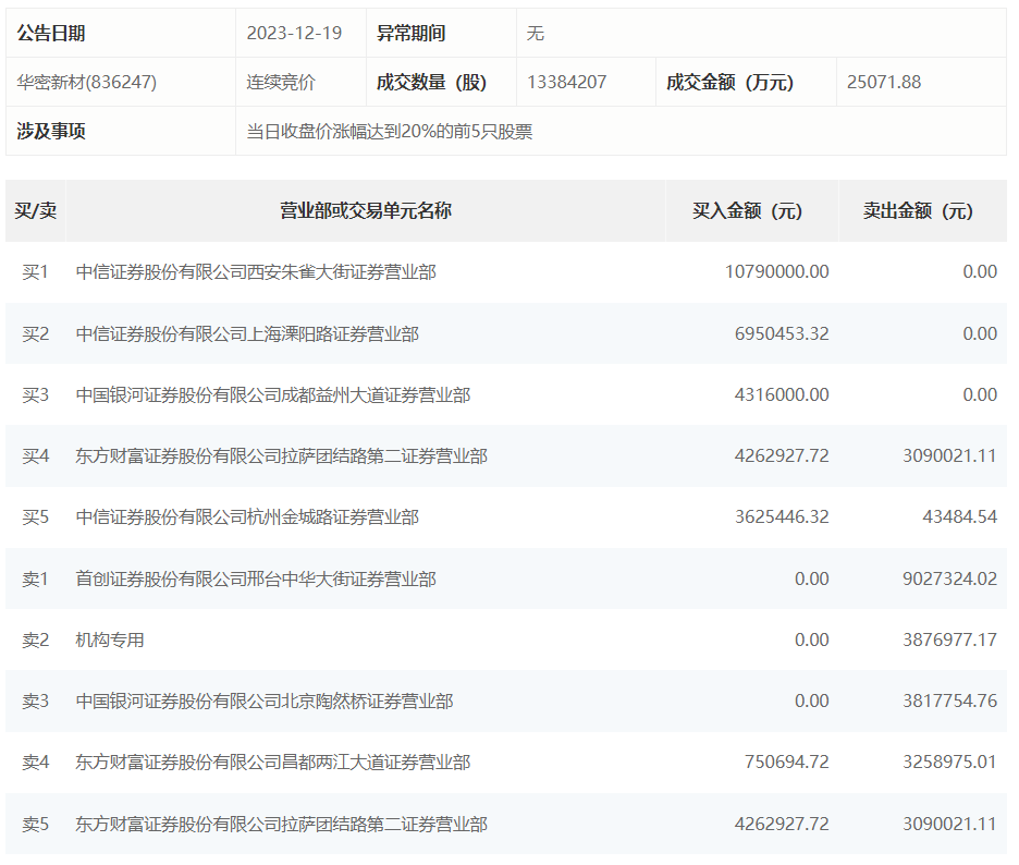
龙虎榜 | 华密新材今日涨停,知名游资方新侠,孙哥分别买入1079万元
图片尺寸936x794
深度揭秘a股游资方新侠擅长题材做趋势手中主握白酒与医药
图片尺寸374x210