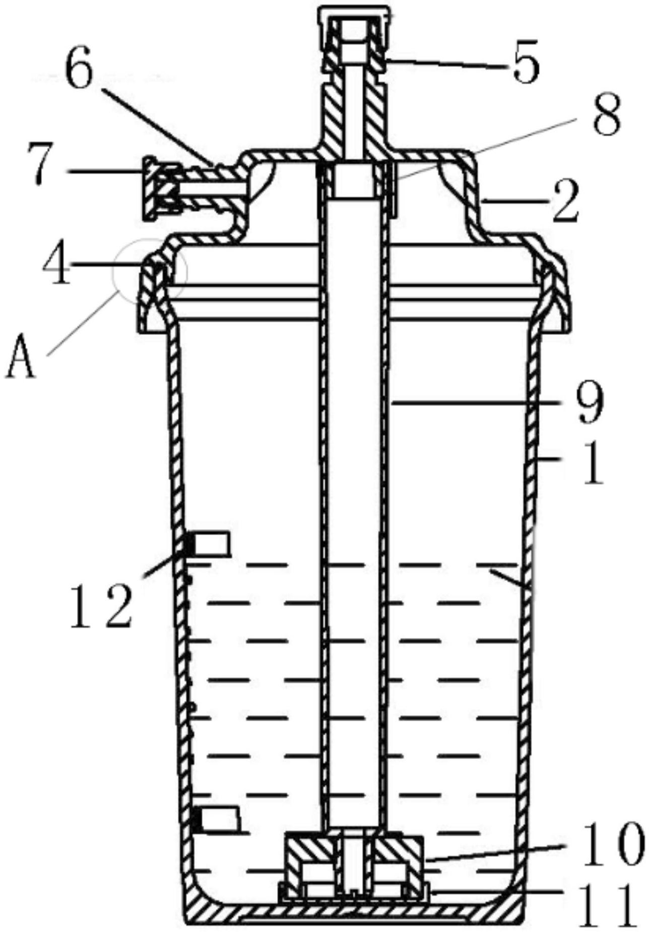
湿化瓶结构

一种氧气湿化瓶-爱企查
图片尺寸1297x1535
一种氧气湿化瓶-爱企查
图片尺寸543x605
一种可调节温度带加热的氧气湿化瓶的制作方法
图片尺寸713x1000
一种医用吸氧湿化瓶
图片尺寸1574x2167
一种具有瓶口保护结构的湿化瓶的制作方法
图片尺寸283x444
一种无气泡噪音的湿化瓶的制作方法
图片尺寸803x931
一种带有预警功能的氧气湿化瓶的制作方法
图片尺寸222x443
一种氧气湿化瓶制造技术
图片尺寸728x1000
一种氧气湿化瓶瓶口的密封结构-爱企查
图片尺寸1288x1848
cn209060288u_一种可调节温度带加热的氧气湿化瓶有效
图片尺寸710x1000
本发明属于氧气湿化瓶结构领域,具体涉及一种利于防止交叉感染的一次
图片尺寸708x1000
一种医用氧气湿化瓶制造技术
图片尺寸494x1000
一种吸氧和雾化两用湿化瓶的制作方法
图片尺寸443x372
一种可调式氧气湿化瓶的制作方法
图片尺寸337x443
一种低噪声氧气湿化瓶的制作方法
图片尺寸517x1000
一次性使用氧气湿化瓶的制作方法
图片尺寸486x511
射流液体气溶胶式湿化瓶的制作方法
图片尺寸820x1000
一体式氧气湿化瓶及其连接结构的制作方法
图片尺寸386x443
其结构如图1所示,包括氧气吸入器主体和氧气湿化瓶
图片尺寸789x1000
一种一体式湿化雾化鼻氧瓶的制作方法
图片尺寸623x1000