滑动固定结构

具体的说是一种双向式滑动导轨,包括导轨本体,滑块,固定套,润滑结构
图片尺寸1732x1248
怎么固定滑块?
图片尺寸1600x900![[分享]滑动支架有哪些组成部分及形式?](https://i.ecywang.com/upload/1/img1.baidu.com/it/u=2928329168,2805887128&fm=253&fmt=auto&app=138&f=JPG?w=500&h=212)
[分享]滑动支架有哪些组成部分及形式?
图片尺寸559x237
滑块座需加固定板,固定在模胚外侧,此固定板有导向作用,且用螺丝 销钉
图片尺寸770x696
滚动轴承一端固定一端游动的支承结构固定端的正确结构是
图片尺寸700x700
是一种滚柱滑块,所述的滚柱滑块由支承板,凸v形滚柱滑块,滑块固定螺栓
图片尺寸1637x2291
滑轮组件机构
图片尺寸530x387
建筑隔震橡胶桥梁球铰支座钢结构弹性双向滑动盆式固定铰支座
图片尺寸800x800
固定式滑轮机构装配
图片尺寸820x781
滑动支架和导向支架到底有啥具体区别
图片尺寸366x279
一种安全性高的建筑施工用滑动托架的制作方法
图片尺寸1000x873
滑块曲柄
图片尺寸704x469
滑动装置的制作方法
图片尺寸746x1000
制造工厂|深圳注塑模具工厂|精密模具制造工厂|产品结构设计公司|精
图片尺寸600x464
本实用新型涉及杆体(或管体)的连接结构,特别是一种杆体的滑动固定件
图片尺寸443x371
04205定块机构
图片尺寸250x680
即,根据前述内容,以往的滑动装置不仅产生滑动件结构变复杂规定以上的
图片尺寸1000x707
cn102029928b_车辆用座椅的滑动结构失效
图片尺寸791x1000
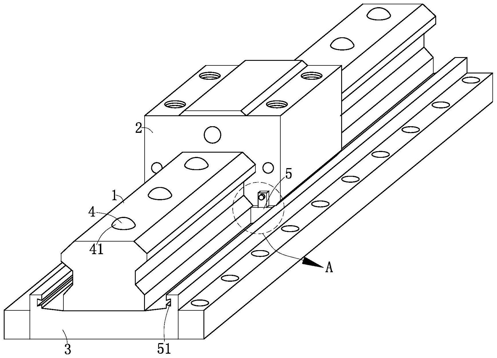
一种滑动导向部件用固定机构的制作方法
图片尺寸1000x623
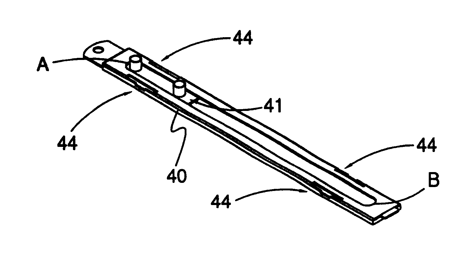
滑动结构
图片尺寸1572x884