滑动支座简图

楼梯滑动支座怎么布置
图片尺寸480x640
华博路桥 厂家现货直销 品质服务 价格合理 聚四氟乙烯滑动支座
图片尺寸600x377
cn2937723y_热力管道多功能滑动支架失效
图片尺寸2208x2221
双向滑移支座滑动支座主要性能
图片尺寸851x346
请问图中楼梯下面的滑动支座怎么布置
图片尺寸723x544
图1滑动支座构造简图
图片尺寸310x246
楼梯滑动支座
图片尺寸366x299
一种滑动支座-爱企查
图片尺寸1836x2005
用聚四氟乙烯烧结板做摩擦副的低摩擦系数滑动支座-爱企查
图片尺寸962x947
如图,楼梯滑动支座怎么用gtj定义?
图片尺寸687x583
长距离输送管道的滑动支架的制作方法
图片尺寸564x522
11g1012图集第41页楼梯滑动支座
图片尺寸1600x1129
滑动支座聚四氟乙烯楼梯板技术应用经验总结
图片尺寸564x257
一种大跨度空间结构的限位滑移支座
图片尺寸1285x1214
楼梯滑动支座怎么定义的
图片尺寸1176x681
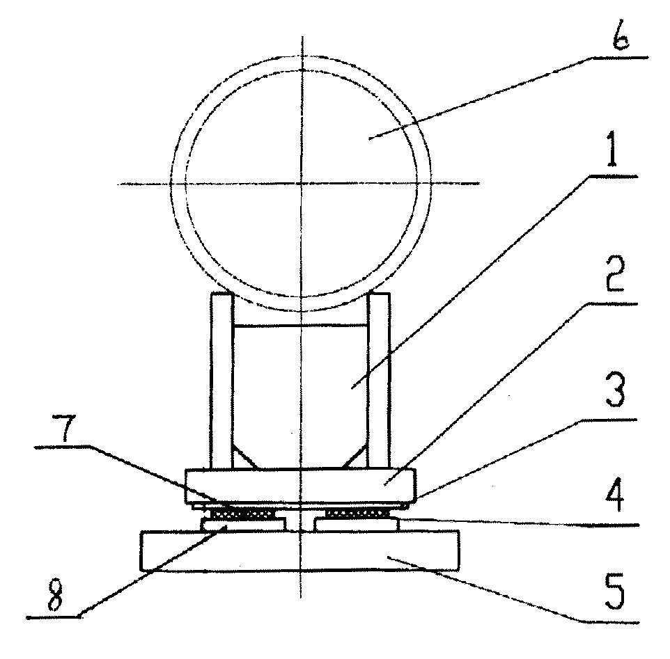
一种用于引水明管的可拆卸式滑动支座
图片尺寸320x416
楼梯滑动支座用什么构件来布置
图片尺寸607x660
管道支架(固定,滑动)详图
图片尺寸560x393
cn212358627u_一种单向滑动网架支座有效
图片尺寸1392x870
一种滑动支座的制作方法
图片尺寸935x820