滚焊机结构图

一种滚焊机焊接机构
图片尺寸1835x2511
cn201244640y_钻孔桩钢筋笼滚焊机有效
图片尺寸2332x1862
滚焊机焊机散热装置-爱企查
图片尺寸1666x1231
数控钢筋笼滚焊机银川数控滚焊机厂家批发
图片尺寸3840x2277
松下中频刹车蹄专用滚焊机
图片尺寸1920x2731
智能钢筋笼滚焊机,自动化程度高,还具有结构简单,维修方便
图片尺寸750x694
滚笼机 欧陆滚焊机 型号齐全 支持定制
图片尺寸750x562
钢筋笼自动成型机钢筋笼骨架滚焊机工程专用设备
图片尺寸750x750
桃山钢筋笼滚焊机多少钱
图片尺寸450x450
滚焊机 - 热门商品专区
图片尺寸2000x1500
全自动钢筋笼滚焊机
图片尺寸600x378
钢筋笼滚焊机 ,钢筋加工厂钢筋滚焊机 ,自动化钢筋笼滚焊机
图片尺寸1920x1079
手提式便携油箱缝焊机环缝银瓦不锈钢油桶滚焊机长臂小轮滚轮焊机
图片尺寸800x800
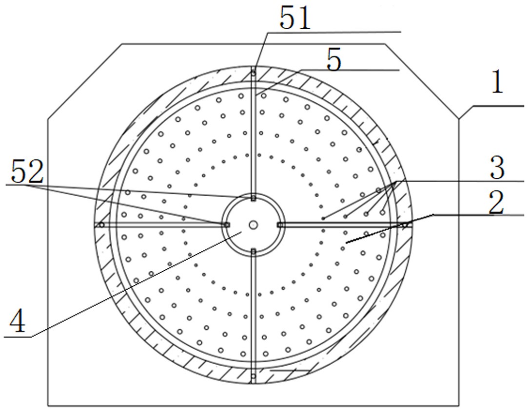
钢筋笼滚焊机用旋转盘的改进结构-爱企查
图片尺寸2206x1782
忻州产品推送钢筋笼滚焊机厂家新款2024新排名一览
图片尺寸500x666
出租二手数控钢筋笼滚焊机租赁
图片尺寸1280x960
数控钢筋笼滚焊接机自动钢筋笼滚焊机钻孔灌注桩钢筋笼滚焊机
图片尺寸790x1301
数控钢筋笼滚焊机
图片尺寸800x600
一种滚焊机钢筋笼加工固定板-爱企查
图片尺寸1083x844
油桶身直缝滚焊机本焊机根据焊接结构形式不同,具有纵向焊接型和横向
图片尺寸800x810