滚轮手绘

卡通黄色滚轮矢量
图片尺寸610x597
一种箱包用滚轮的制作方法
图片尺寸904x1000
cn306578332s_滚轮(vb3.0-r)有效
图片尺寸446x674
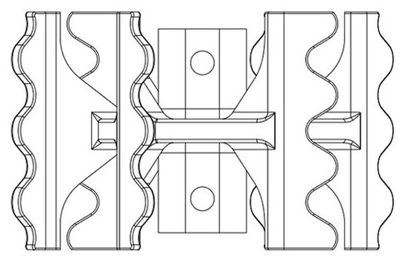
一种耐摩擦减震聚氨酯橡胶滚轮
图片尺寸1548x1379
一种滚轮
图片尺寸1205x927
一种柔性滚轮的制作方法
图片尺寸1000x941
开口槽式滚轮
图片尺寸1654x1170
cn205324229u_一种静电除尘滚轮失效
图片尺寸1000x819
车轮,仓鼠,矢量,家畜,塑胶
图片尺寸1100x1100
一种用于卫浴上的滚轮结构
图片尺寸318x360
覆泥整地的滚轮-爱企查
图片尺寸799x525
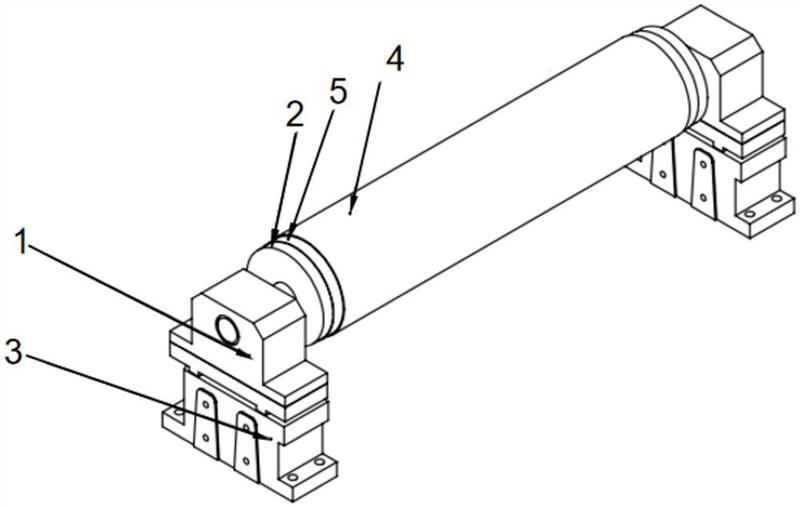
一种机械传动滚轮
图片尺寸674x601
一种创新型滚轮的制作方法-爱企查
图片尺寸800x507
密集架滚轮
图片尺寸640x826
cn202389117u_万向滚轮有效
图片尺寸800x635
一种抽屉滚轮结构的制作方法
图片尺寸1000x978
cn209856228u_一种柔性滚轮有效
图片尺寸1000x936
密集架滚轮
图片尺寸816x828
一种滚轮安装结构-爱企查
图片尺寸736x800
一种配重滚轮的制作方法
图片尺寸1000x860