滴定管怎么画
图片尺寸204x396
实验仪器安全指南:滴定管,量筒,酒精灯与蒸发皿
图片尺寸590x856
滴定管使用与校准全攻略,化学分析必备!
图片尺寸1080x1170
滴定管简笔画教程
图片尺寸306x629
滴定管的简笔画
图片尺寸254x257
酸式滴定管排气泡手应该怎么放
图片尺寸374x379
滴定中途可否中途在滴定管增加试液
图片尺寸216x371
溶液.可用该滴定管量取一定体积的.锥形瓶使用前需用待测液醋酸润洗
图片尺寸1876x2164
滴定这样,酸式滴定管里是酸,锥形瓶里是碱
图片尺寸258x383
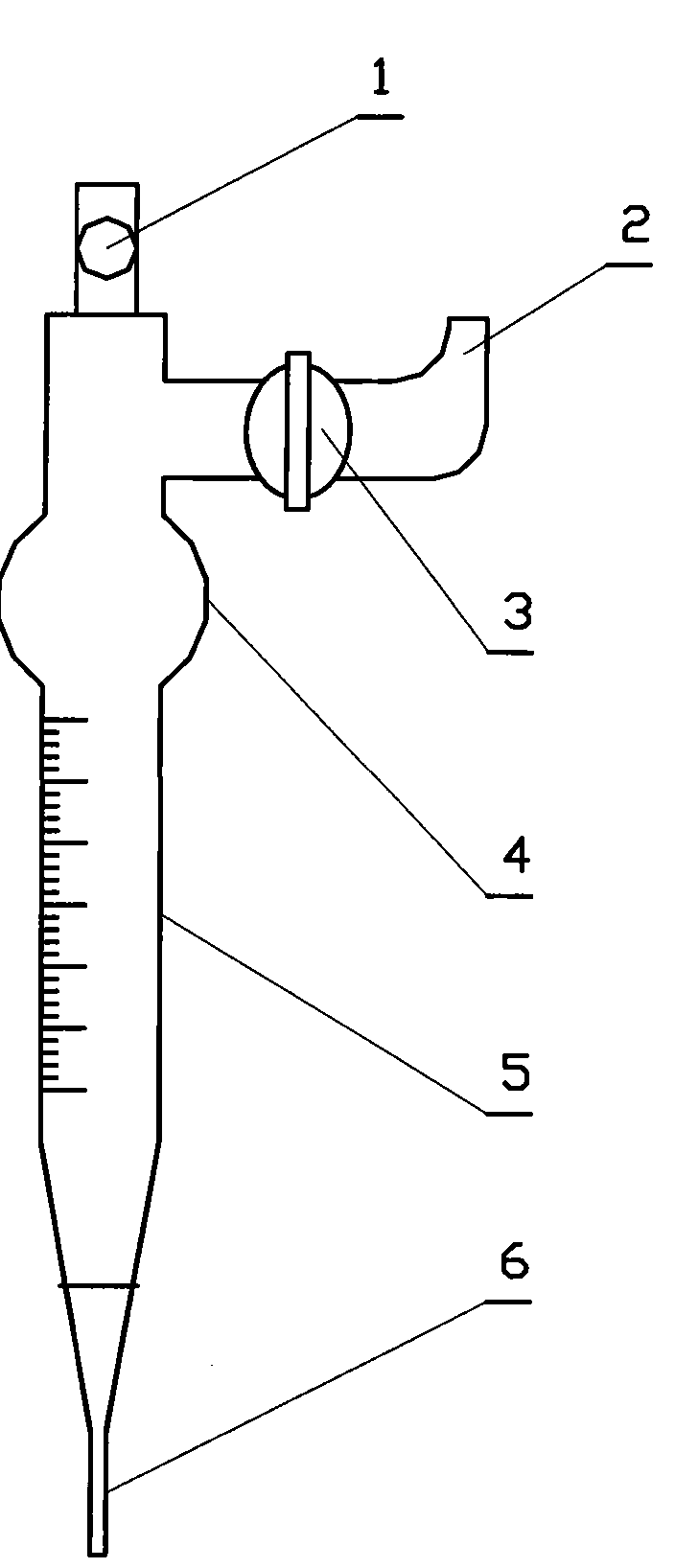
一种酸式滴定管
图片尺寸918x1379
若滴定管内存在气泡,应迅速放出液体以排除气泡
图片尺寸806x808
滴定操作注意事项
图片尺寸520x506
组合式滴定管
图片尺寸1344x1392
滴定管
图片尺寸704x1636
芦荟薇拉滴管图标轮廓风格
图片尺寸1080x1200
酸式滴定管怎么检漏
图片尺寸1706x1652
一种带有u型结构的酸式滴定管
图片尺寸897x1140
量体积直接用滴定管不可以吗?
图片尺寸450x484
🧪碱式滴定管简笔画✨
图片尺寸341x512
用碱式滴定管量取10
图片尺寸572x1007