漂烫机简图

一种果蔬漂烫机
图片尺寸2236x2280
一种减少透气孔堵塞的螺旋漂烫机的制作方法
图片尺寸268x444
举升漂烫机的制作方法
图片尺寸443x295
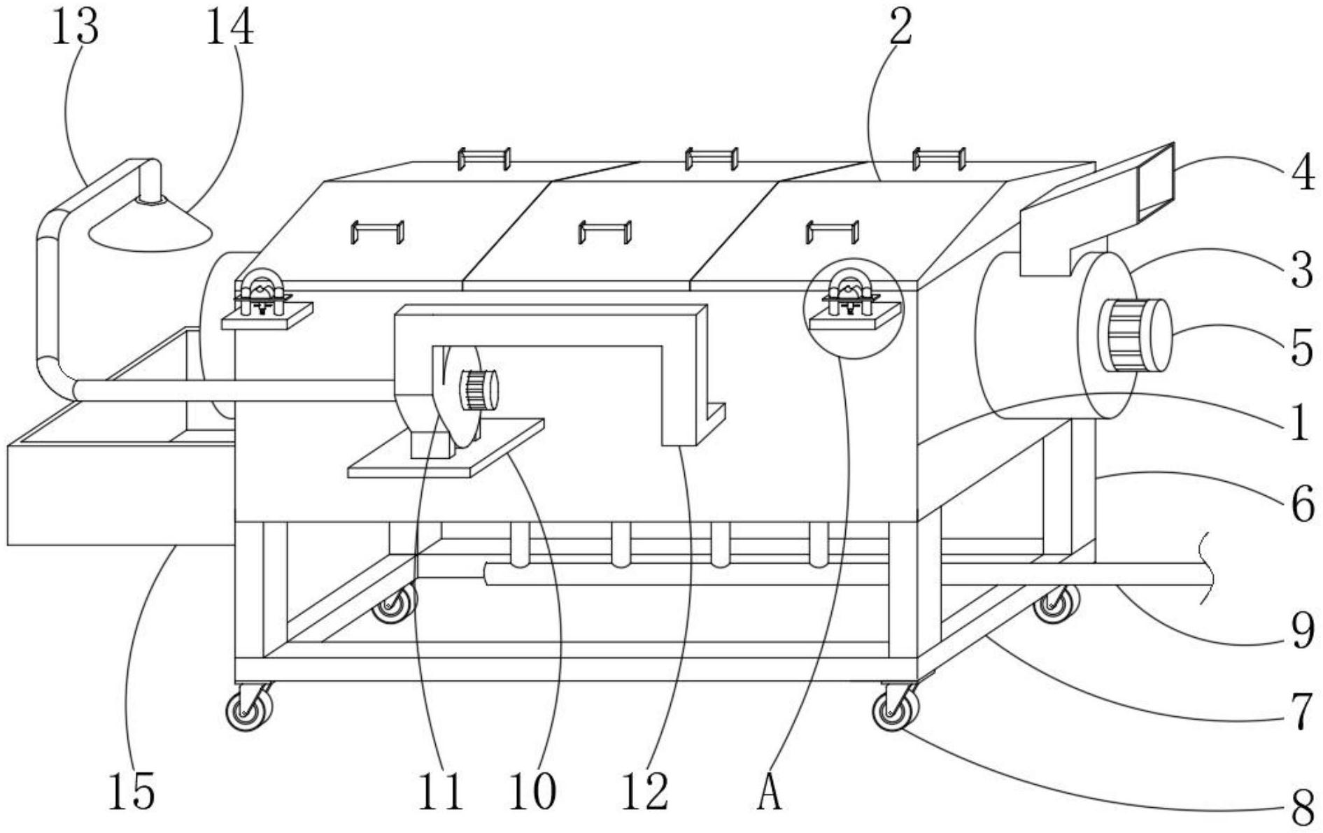
一种蒸汽螺旋漂烫机
图片尺寸1891x1191
一种蒸汽螺旋漂烫机的制作方法与工艺
图片尺寸1000x765
一种新型漂烫机的制作方法
图片尺寸1000x648
一种蒸汽螺旋漂烫机制造技术
图片尺寸1000x676
一种蒸汽螺旋漂烫机-爱企查
图片尺寸2014x1358
一种用于蔬菜和水果的旋转式漂烫装置的制作方法
图片尺寸1000x842
一种具有漂洗杀青功能的漂烫机
图片尺寸1699x942
专利名称:一种螺旋漂烫机
图片尺寸1875x1137
一种蜜饯生产用漂烫装置的制作方法
图片尺寸1000x735
漂烫提升机
图片尺寸595x502
定制不锈钢螺旋漂烫机
图片尺寸640x640
全自动海鲜漂烫蒸煮设备小龙虾深加工设备
图片尺寸1000x1000
保存,运输和销售过程中极易污染变质,通常可以采用高温,干燥,烫漂
图片尺寸1000x665
海产品全自动蒸煮漂烫机 菠菜清洗漂烫流水线 肉制品蒸煮机
图片尺寸600x800
一种全自动连续蒸煮装置的制作方法
图片尺寸1000x337
卤蛋软包装低温巴氏杀菌机 海带丝巴氏杀菌流水线 蒜菜漂烫机
图片尺寸1650x1237
厂家供应链斗式连续预煮机 青豆预煮漂烫机定做
图片尺寸1920x1632