激光陀螺原理

激光陀螺仪的工作原理建立于两束沿着三面镜子排列的激光束基础上.
图片尺寸600x330
p08激光陀螺误差,光纤陀螺.ppt
图片尺寸1152x864
光学陀螺原理
图片尺寸671x517
光学陀螺仪原理图
图片尺寸440x336
我国激光陀螺仪持续突破:精度媲美国际水平
图片尺寸640x414
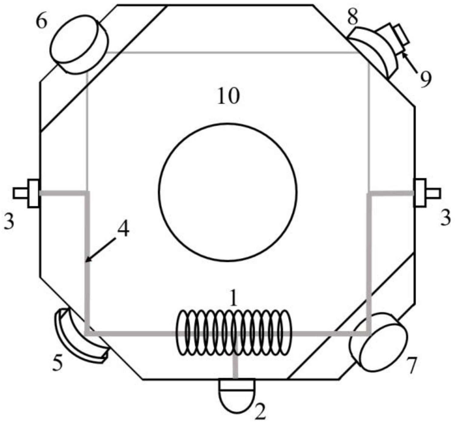
一种正负旋塞曼空间四频差动激光陀螺
图片尺寸1501x1401
恒速偏频激光陀螺系统航向敏感误差的在线标定与补偿
图片尺寸280x232
环形激光陀螺仪原理
图片尺寸218x220
陀螺仪的进动及其数学描述
图片尺寸394x323
一种激光陀螺抖动剥除装置
图片尺寸1828x915
激光陀螺的原理光路如图2所示,采用合光棱镜使其输出的顺,逆时针激光
图片尺寸640x370
一种激光陀螺稳频方法及系统与流程
图片尺寸443x251
cn106996776a_一种激光陀螺工作点恢复系统及方法在审
图片尺寸1000x662
一种用于原子陀螺仪的激光频率和功率的双重稳定方法及装置
图片尺寸1735x1440
激光陀螺,让武器装备再也不迷路
图片尺寸343x298
它是如何工作的?
图片尺寸540x492
陀飞轮工作原理 年误差低于一秒陀飞轮的原理基本上是把游丝,叉式杠杆
图片尺寸498x376
激光陀螺仪工作原理
图片尺寸1280x720
新型自动化武器
图片尺寸447x445
陀螺仪的内外环支承历史朔源与改革创新
图片尺寸382x453