火焰筒结构

燃烧室火焰筒示意图
图片尺寸640x400
还要不要火箭筒简析未来我军步兵班火力核心
图片尺寸592x1026
采用小孔气膜冷却的火焰筒
图片尺寸640x400
真假难辨,无后坐力炮和火箭筒有什么区别?rpg-7是火箭筒吗?
图片尺寸640x427
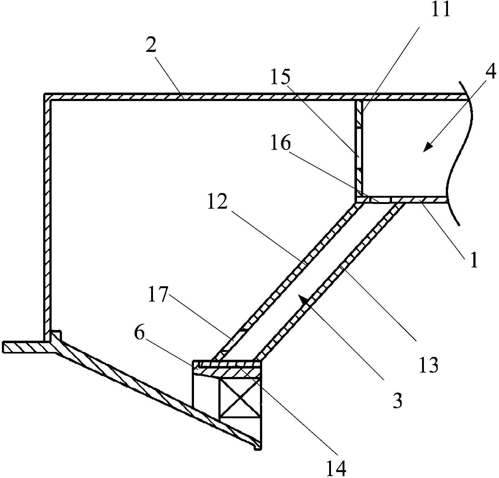
一种火焰筒结构
图片尺寸1595x1528
at4火箭筒和m72火箭筒有什么区别?
图片尺寸640x341
即将数个火焰筒均匀安装在内外壳体形成的环形气流通道中,同时在用联
图片尺寸640x360
新型燃油雾化装置及具有其的火焰筒头部结构的制作方法
图片尺寸1000x640
一种火焰筒头部结构的制作方法
图片尺寸1000x842
cn107091486a_一种带旋流器的加力燃烧室环形火焰筒结构有效
图片尺寸1720x1147
本技术:属于航空发动机结构设计技术领域,特别涉及一种火焰筒头部组件
图片尺寸777x1000
cn201025371y_一种带有束腰结构的火焰筒失效
图片尺寸2713x1394
cn207648850u_一种燃油冷却火焰筒壁面的分级燃烧装置有效
图片尺寸1576x1069
带单独头部的环形燃烧室火焰筒
图片尺寸640x480
该火焰筒的外环火焰筒壁和内环火焰筒壁皆为双层结构,该双层结构中
图片尺寸1706x1102
一种燃油蒸发式的火焰筒
图片尺寸443x283
图4是装有环形火焰筒与燃烧器的环形燃烧室剖面图.
图片尺寸560x480
联管式燃烧室内有多个管状火焰筒,它们之间由联焰管连通.
图片尺寸740x741
一种能够降低积碳的火焰筒头部的制作方法
图片尺寸1000x686
气膜冷却结构及涡轮发动机燃烧室火焰筒
图片尺寸1394x1118