火花塞 结构图

关于火花塞的"是是非非"(上)
图片尺寸640x1035
p>火花塞是汽油机 a target="_blank" href="/item/点火系统/7908781
图片尺寸1280x1162
火花塞构造示意简图.
图片尺寸509x721
火花塞(点燃混合汽)
图片尺寸600x450
火花塞都有什么材质?寿命几何?
图片尺寸640x383
动力不够耗油年检排放不达标可能要换火花塞
图片尺寸640x1164
各种出问题的火花塞图片
图片尺寸883x633
火花塞基本知识-重庆ppt
图片尺寸1080x810
能量之火的迸发——剖析铱金火花塞
图片尺寸300x379
南京久久汽修学校火花塞状况分析
图片尺寸573x350
汽车点火系专题火花塞结构详解
图片尺寸189x239
汽车发动机火花塞技术培训ppt
图片尺寸800x600
火花塞常见故障现象及原因解析(1)
图片尺寸1089x832
火花塞知识汇总火花塞结构火花塞热特性火花塞类型火花塞型号
图片尺寸268x451
买更贵的火花塞能提升动力吗?
图片尺寸640x487
一张图看懂火花塞的基本结构
图片尺寸640x424
巍峰养护大讲堂史航火花塞的使用和安装注意
图片尺寸493x260
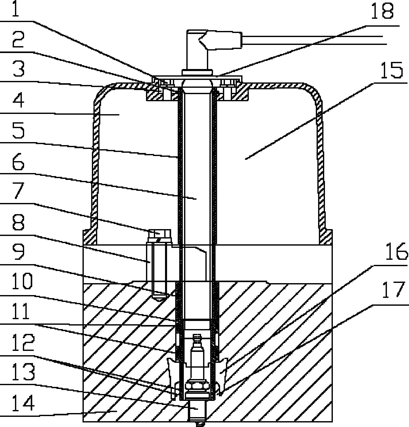
一种分体式火花塞密封结构-爱企查
图片尺寸1611x1683
火花塞 spark plug
图片尺寸378x300
火花塞
图片尺寸1270x2109