灯带剖面图

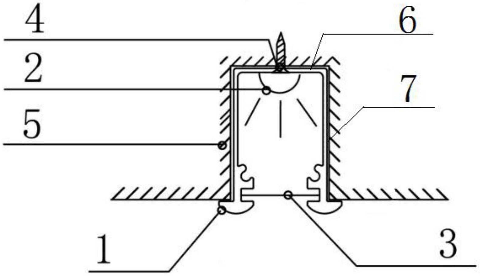
一种暗藏灯带节点结构
图片尺寸1953x2326
灯带剖面图
图片尺寸600x1059
新型户外led全彩灯条的研制与应用
图片尺寸3307x879
cn213390785u_一种吊顶系统边部暗藏灯带节点结构有效
图片尺寸2032x1793
cn212390231u_一种墙面柱面灯带型材有效
图片尺寸1579x910
楼梯灯带安装剖面
图片尺寸1046x1280
吊顶灯槽灯带剖面图
图片尺寸1800x1260
90宽36高嵌入式灯条外壳 室内高档嵌入式灯外壳
图片尺寸580x433
一种具有米标的led灯带
图片尺寸1675x1912
墙面暗藏灯带节点
图片尺寸663x545
常见的两种led剖面图
图片尺寸1080x810
一种led灯带结构的制作方法
图片尺寸1000x535
暗藏灯带吊顶剖面图cad下载_【知末网cad图纸库】第1页
图片尺寸400x300
供应【洁耀】5050灯带 高亮5050灯带 双排120灯5050灯带
图片尺寸700x499
吊顶反光灯带安装结构
图片尺寸1564x1704
一种防脱落的led灯带的制作方法
图片尺寸1000x437
楼梯灯带安装剖面
图片尺寸1050x1280
一种贴片灯带制造技术
图片尺寸1000x850
一种吊顶跌级灯带安装结构
图片尺寸1671x1155
如何选择防水led灯条
图片尺寸1159x583