炉门结构图

一种节能型焦炉炉门结构的制作方法
图片尺寸443x315
焦炉炉门结构简图
图片尺寸600x518
cn2477633y_焦炉炉门失效
图片尺寸353x945![[qc成果]7m焦炉炉门安装工艺创新](https://i.ecywang.com/upload/1/img1.baidu.com/it/u=348828750,3541809450&fm=253&fmt=auto&app=138&f=JPEG?w=560&h=275)
[qc成果]7m焦炉炉门安装工艺创新
图片尺寸560x275
预抽真空氮化炉转臂式自动压紧炉门-爱企查
图片尺寸800x692
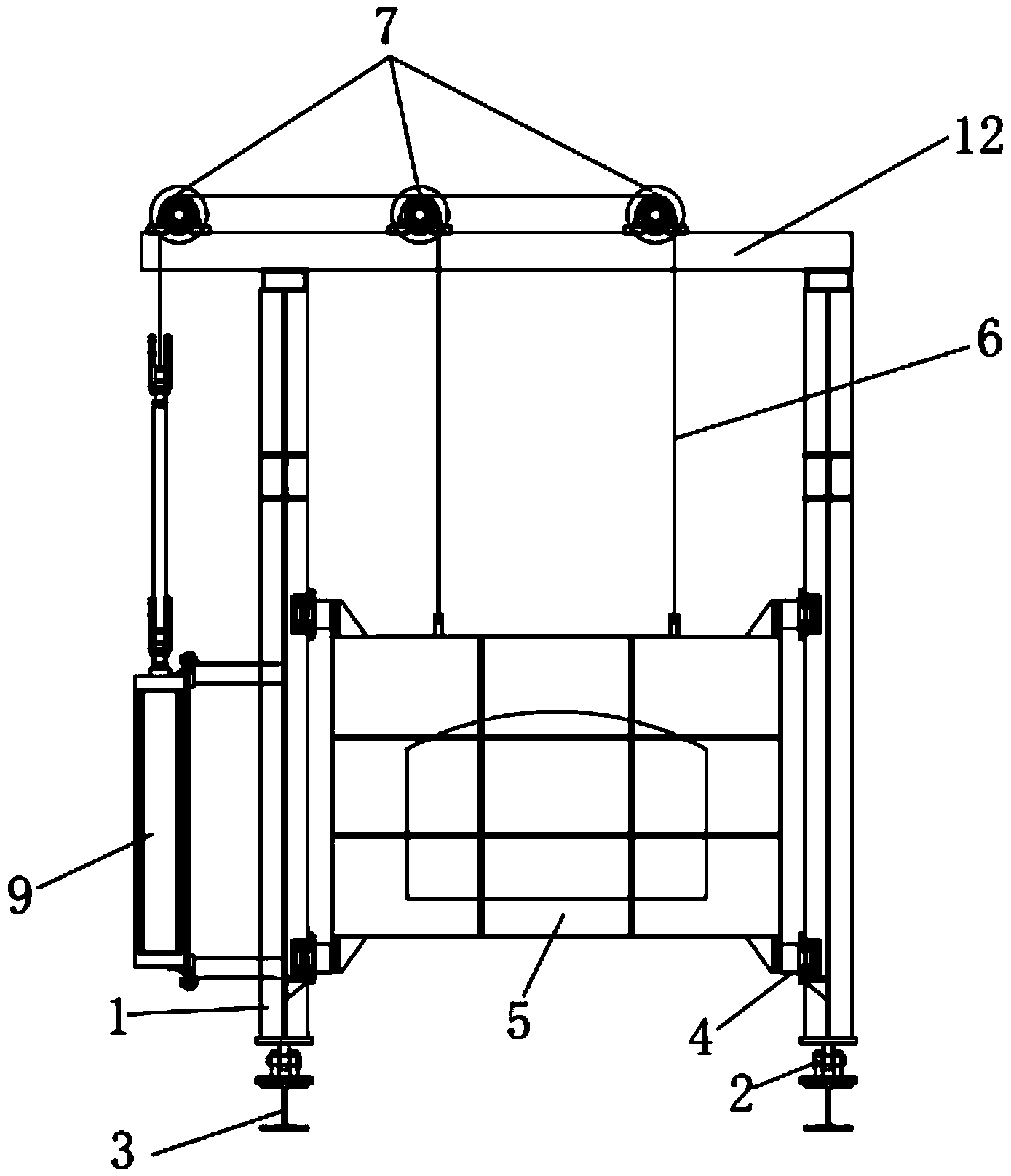
一种升降炉门,包括导轨,支架,导向轮,炉门,链条,导轨轮,炉门框,提升
图片尺寸1389x1616
一种增大开启角度的自动炉门结构的制作方法
图片尺寸443x438
特种钢结构件淬火炉炉门_cn201921090726.3_知雀网
图片尺寸1000x669
高炉- 优质问答专区
图片尺寸928x694
一种新型炉门结构的制作方法
图片尺寸1000x831
一种立式淬火炉炉门结构的制作方法
图片尺寸1000x997
一种炉门提升移动罩式电阻炉-爱企查
图片尺寸2272x1824
一种密封性良好的固溶化热处理炉用炉门的制作方法
图片尺寸544x1000
一种采用上开启加气动密封的真空退火炉炉门结构制造技术
图片尺寸756x1000
cn201686658u_旋升式开关炉门机构有效
图片尺寸2656x2072
一种熔炼炉炉门-爱企查
图片尺寸432x456
一种炉门结构-爱企查
图片尺寸1380x879
锅炉磁性密封炉门
图片尺寸7840x5824
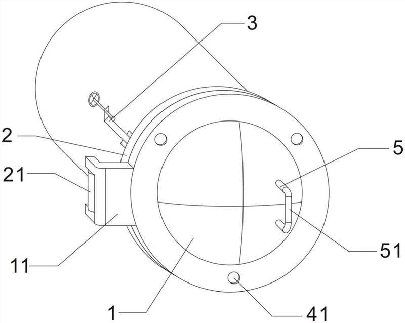
所述的炉门本体为对应安装板尺寸的圆形板结构,所述的炉门本体的侧面
图片尺寸800x638
一种焚烧炉炉门结构的制作方法
图片尺寸444x406