点火装置设计

飞轮磁电机点火装置
图片尺寸1980x1299
经过多少稿才定下点火装置?请设计师林岗自己来讲讲_火炬_团队_方案
图片尺寸720x714
北钻固控设备电子点火装置,是一种专门设计用于处理石油钻井过程中
图片尺寸1600x1600
摘要附图摘要1.本外观设计产品的名称:无线点火装置.2.
图片尺寸1206x1391
摘要附图摘要1.本外观设计产品的名称:燃气点火装置;2.
图片尺寸1181x1119
第五章(三,四)电控点火系统.docx 36页
图片尺寸972x715
自动点火装置三维模型
图片尺寸372x220
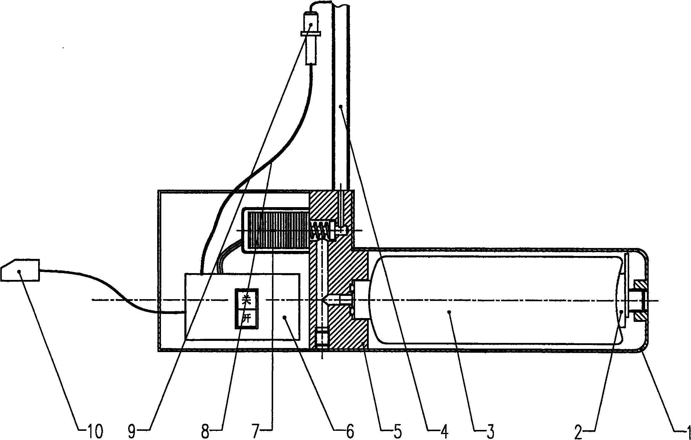
发动机点火系统设计
图片尺寸617x361
摘要附图摘要1.本外观设计产品的名称:点火装置.2.
图片尺寸465x1172
柴燃料灶具点火装置-爱企查
图片尺寸2335x1487
传统点火系统
图片尺寸1615x951
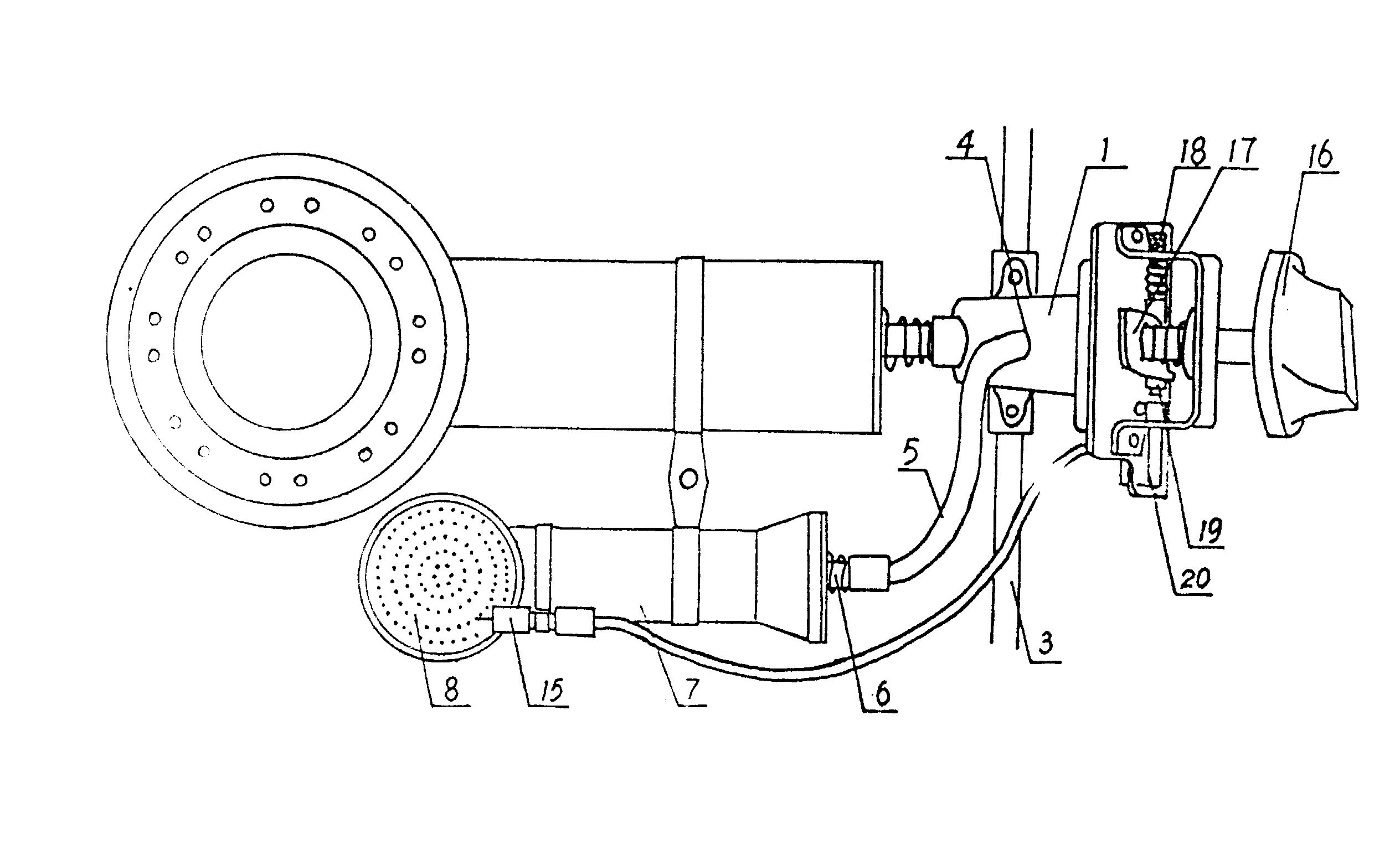
装置,有一气阀和压电陶瓷点火开关及其控制旋钮开关,专门设计有一点火
图片尺寸2528x1536
光电式电子点火装置解决方案华强电子网
图片尺寸700x846
点火装置的目标表示在空腔的中心的2毫米直径的靶盒(一个专门设计的筒
图片尺寸991x691
怎么样改装发动机点火系统
图片尺寸600x480
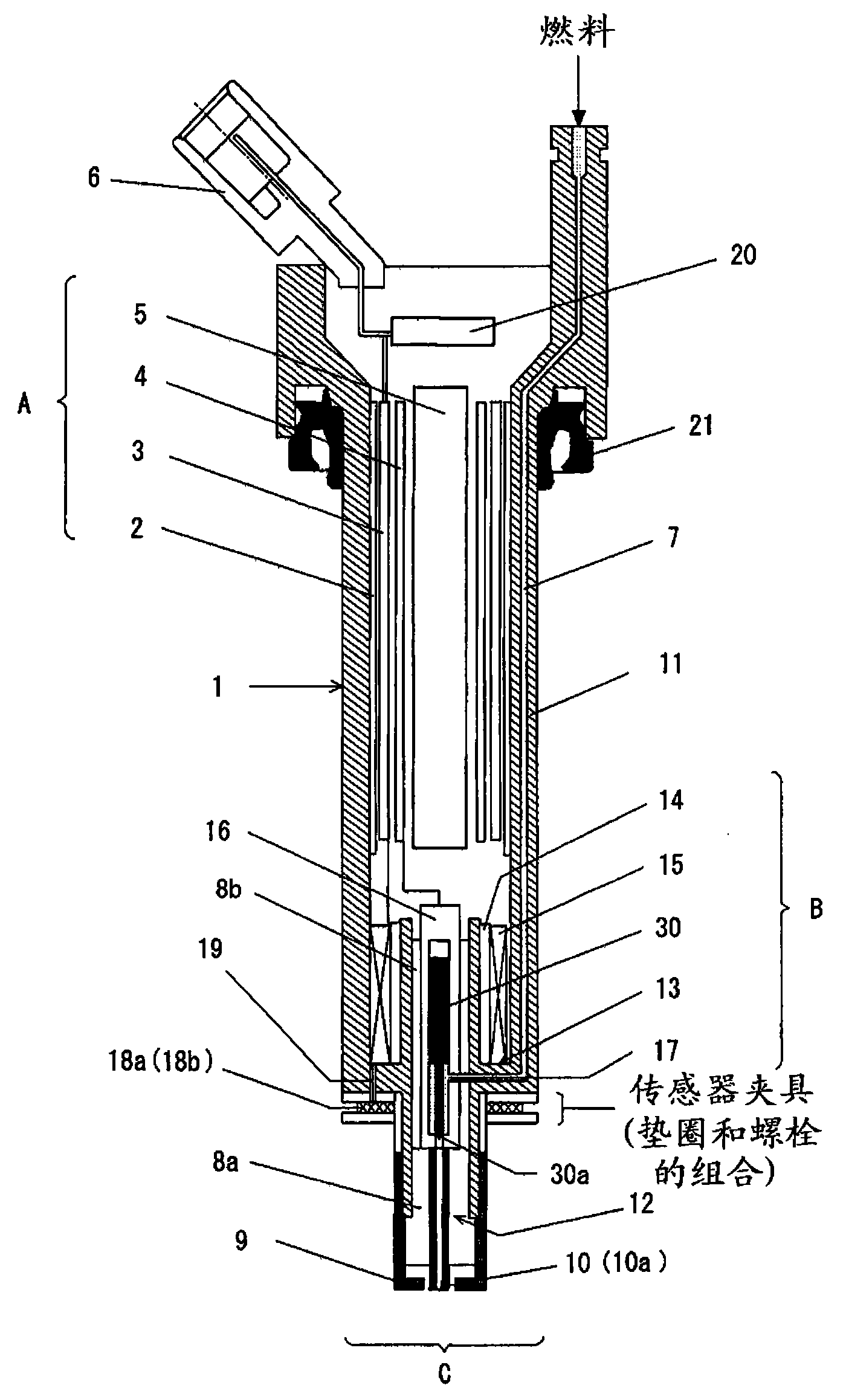
火花塞一体型多功能点火装置
图片尺寸1400x2317
汽车电器之点火系!
图片尺寸640x510
高能点火装置
图片尺寸532x364
燃气灶具压电式电子陶瓷点火装置
图片尺寸812x582
xdh高能点火装置
图片尺寸472x334