烘干机立面图

一种一体式热泵烘干机
图片尺寸1670x1969
一种立式双筒烘干机
图片尺寸1417x2249
粮食烘干机玉米烘干机立式塔体
图片尺寸580x569
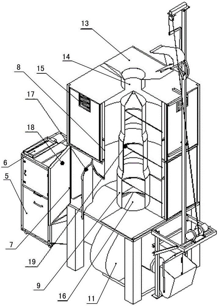
立式烘干机的制作方法
图片尺寸935x1000
一种立式颗粒状物料烘干机的制作方法
图片尺寸884x1000
一种恒温的海鲜烘干机的制作方法
图片尺寸1000x929
立式烘干机
图片尺寸402x313
一种盘式烘干机的制作方法与工艺
图片尺寸727x1000
一种食品烘干机的制作方法与工艺
图片尺寸1000x910
腾达可根据客户的需求 量身定制立式烘干机 齐全
图片尺寸450x600
香精香料专用离心喷雾干燥机tpg350平立面布置图cad图纸
图片尺寸820x1156
烘干机还有立式的能烘干石英砂不
图片尺寸690x517
一种用于铅笔生产的烘干机的制作方法与工艺
图片尺寸1000x727
高效塔式烘干机
图片尺寸714x1000
烘干立面图
图片尺寸496x329
空气能热泵烘干机安装
图片尺寸922x654
三筒回转筒烘干机 立式烘干机图纸
图片尺寸500x355
滚筒干燥机总图
图片尺寸820x519
三筒烘干机图纸
图片尺寸720x508
一种烘干机制造技术
图片尺寸915x1000