热板机原理图

背景技术:热板机是利用电热熔化原理,准备控制温度变化,配以完善的
图片尺寸869x1000
一种立式热板焊接机的制作方法
图片尺寸655x1000
背景技术:热板机是利用电热熔化原理,准备控制温度变化,配以完善的
图片尺寸1000x889
轮胎定型硫化机均匀加热型热板的制作方法
图片尺寸403x407
一种卧式汽车副仪表板的热板焊接机制造技术
图片尺寸969x1000
换热板片波纹形式:(分对交流,单边流)液体三种流态
图片尺寸640x465
换热器工作原理 - 百度文库
图片尺寸496x702
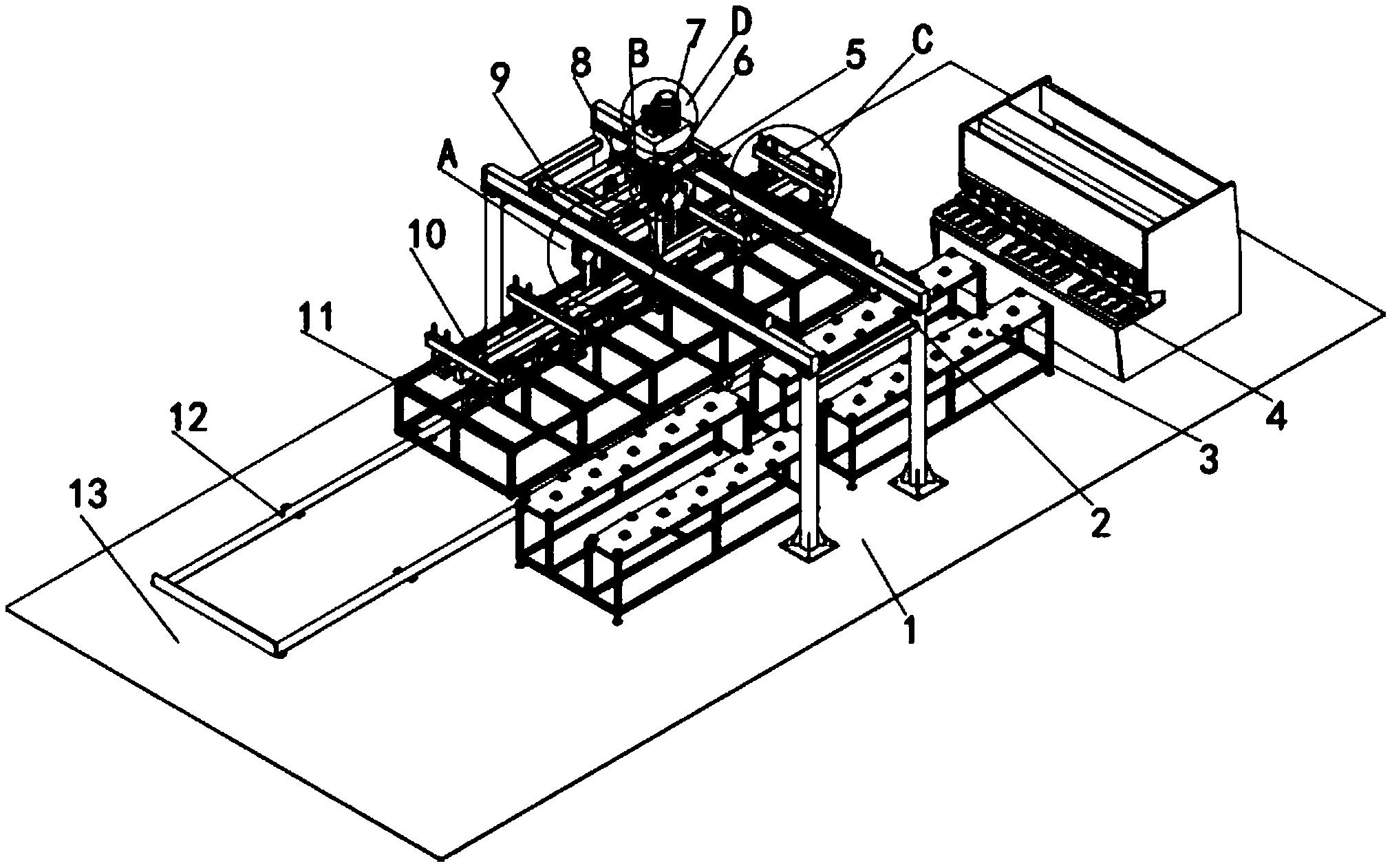
一种剪板机热板送料设备-爱企查
图片尺寸2023x1262
转载的稿件版权归原作者和机构所有,如有侵权,请联系我们删除.
图片尺寸533x399
干货分享,图说板式换热器
图片尺寸640x407
板式换热器工作原理图
图片尺寸506x280
真我12 pro 首发拆解:穿着旗舰"外衣"的中端机_镜头_后盖_金属
图片尺寸666x374
板式换热器的基本结构
图片尺寸553x472
关于pp热板机 结果1
图片尺寸1280x960
超级光盘中国造一张就能装下小型数据中心
图片尺寸1080x438
近期组机界华硕热板.#diy电脑 最近装机界火起来的华硕pr - 抖音
图片尺寸1920x1348
大流量滤芯端盖焊接机_排放_产品_热量
图片尺寸2250x2250
广东国玉科技塑料激光焊接机首先,塑料激光焊接机的工作原理是利用
图片尺寸800x800
一加ace3v首发拆解把防护值点满
图片尺寸1332x748
一脸懵逼",这里 der 就简单的和大家概括一下:现在大部分快充的安卓机
图片尺寸1285x962