热风机原理

风能直接驱动r134ar123复叠式热泵系统运行特性研究
图片尺寸888x521
维嘉mro百科 | 工业热风机
图片尺寸554x308
燃油热风机工作原理图.jpg
图片尺寸1065x564
暖风机简化系统框图bp85956p集成度高,外围电路极简
图片尺寸1080x691
1 热机课件 新人教版ppt
图片尺寸1080x810
空气源热泵机组的原理_性能及影响因素
图片尺寸1625x777
低温空气源热泵热风机的技术原理和优势
图片尺寸600x411
空气源热泵热水器原理
图片尺寸700x560
1热机ppt
图片尺寸1080x675
九年级物理全册课时提升作业四热机含解析新版新人教版201711152115
图片尺寸925x525
燃油热风机工作原理图2.jpg
图片尺寸705x671
高温热风节能佛香烘干设备
图片尺寸1246x593
华春 节能环保 一级能效 超低温热泵 空气源热泵热风机
图片尺寸1920x1335
空气源热泵的原理是怎么样的空气源热泵热机实训考核装置
图片尺寸700x471
智恩热风烘干机工作原理
图片尺寸650x458
新疆和静县2018年九年级物理全册第十四章第1节热机课件新版新人教版
图片尺寸860x645
1 热机课件 新人教版ppt
图片尺寸1080x810
热泵空调原理
图片尺寸677x421
热泵(空气能热泵机组)
图片尺寸900x431
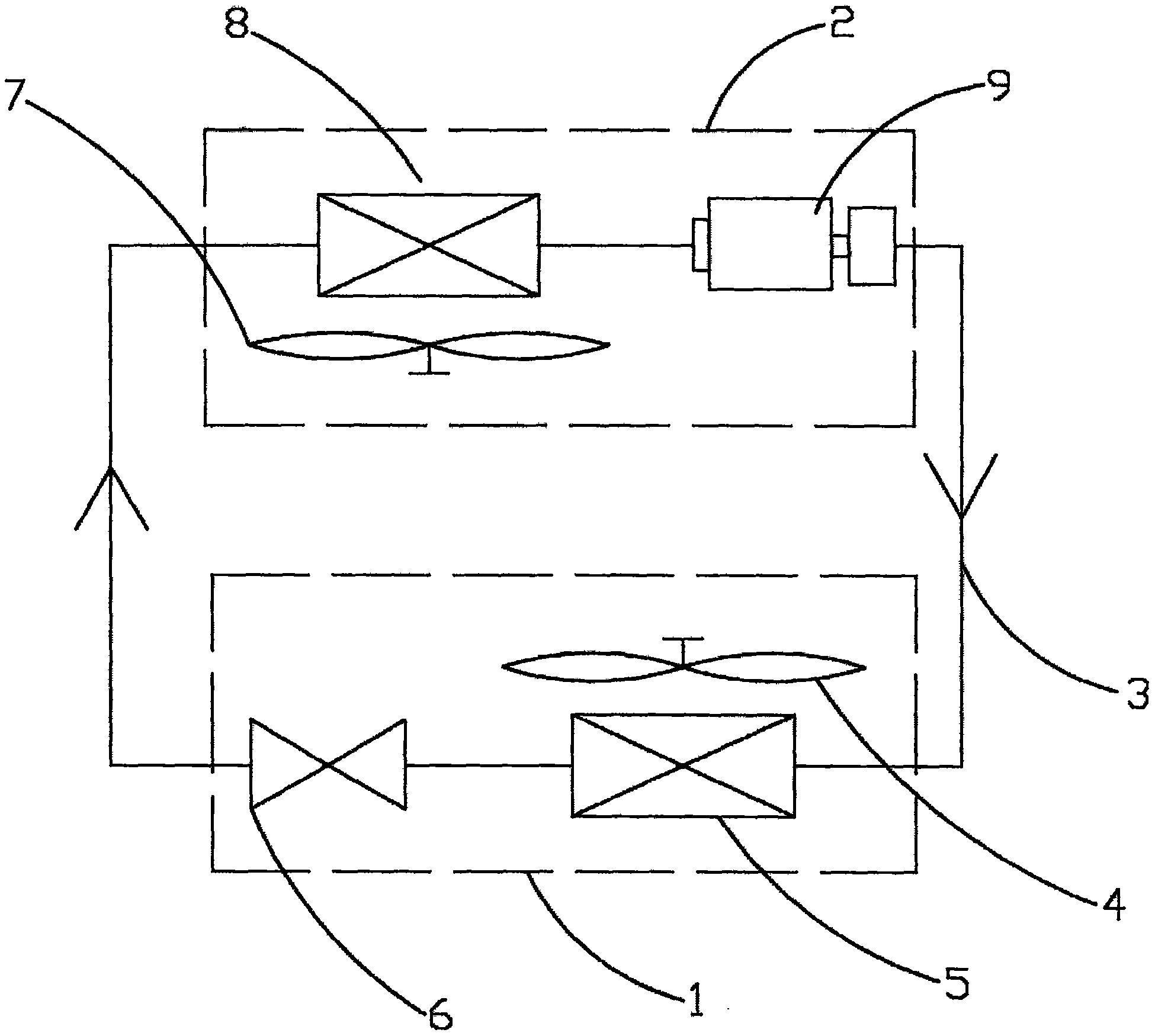
一种节电式空气源热泵热风机
图片尺寸1950x1750