焊炬构造图

松下气保焊枪,二保焊枪yt
图片尺寸750x1369
气焊设备:氧气瓶,乙炔瓶,减压器,焊炬等
图片尺寸580x356
6mm气管接口直径:tgn00043标配焊嘴型号:10mm焊接厚度:30cm焊炬总长
图片尺寸750x1369
商标logo
图片尺寸1451x2123
松下tig氩弧焊机用水冷氩弧焊枪yt
图片尺寸794x2813
商标logo
图片尺寸1679x1630
日本东金机器人焊枪tr
图片尺寸750x1061
焊枪内部结构
图片尺寸864x486
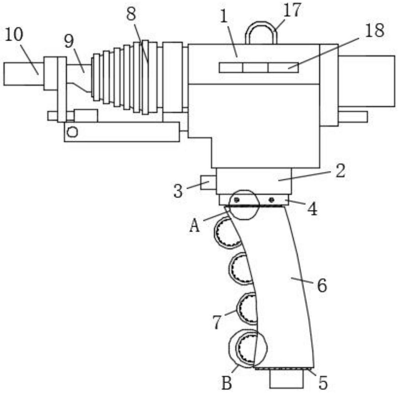
一种手枪式焊枪设备
图片尺寸1579x1137
一种金属切削焊接用射吸式焊炬在审
图片尺寸1000x369
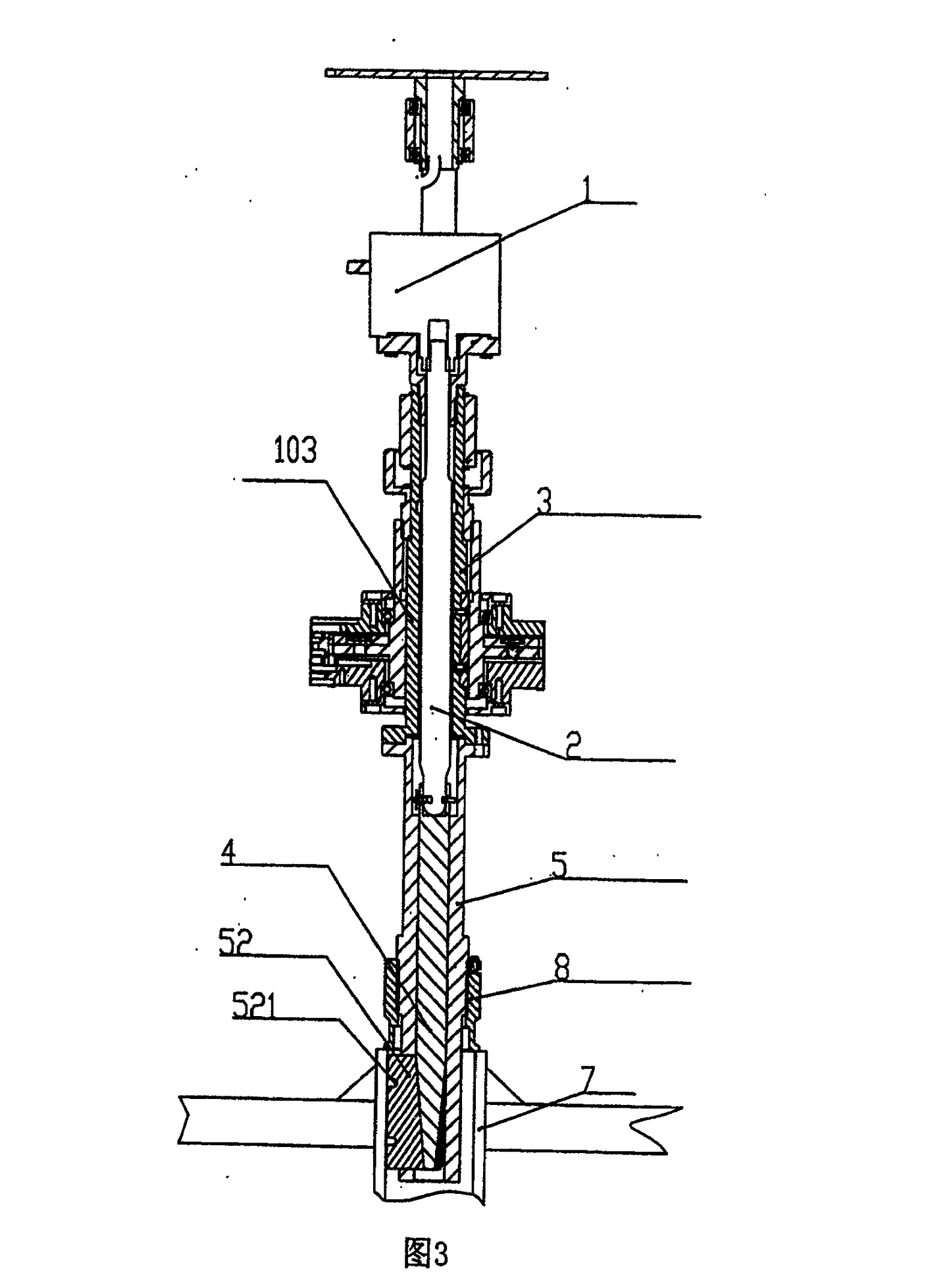
自动焊枪
图片尺寸1407x1956
商标logo
图片尺寸1281x1261
商标logo
图片尺寸2020x1047
🔧手工钨极氩弧焊的运枪技巧💡
图片尺寸683x345
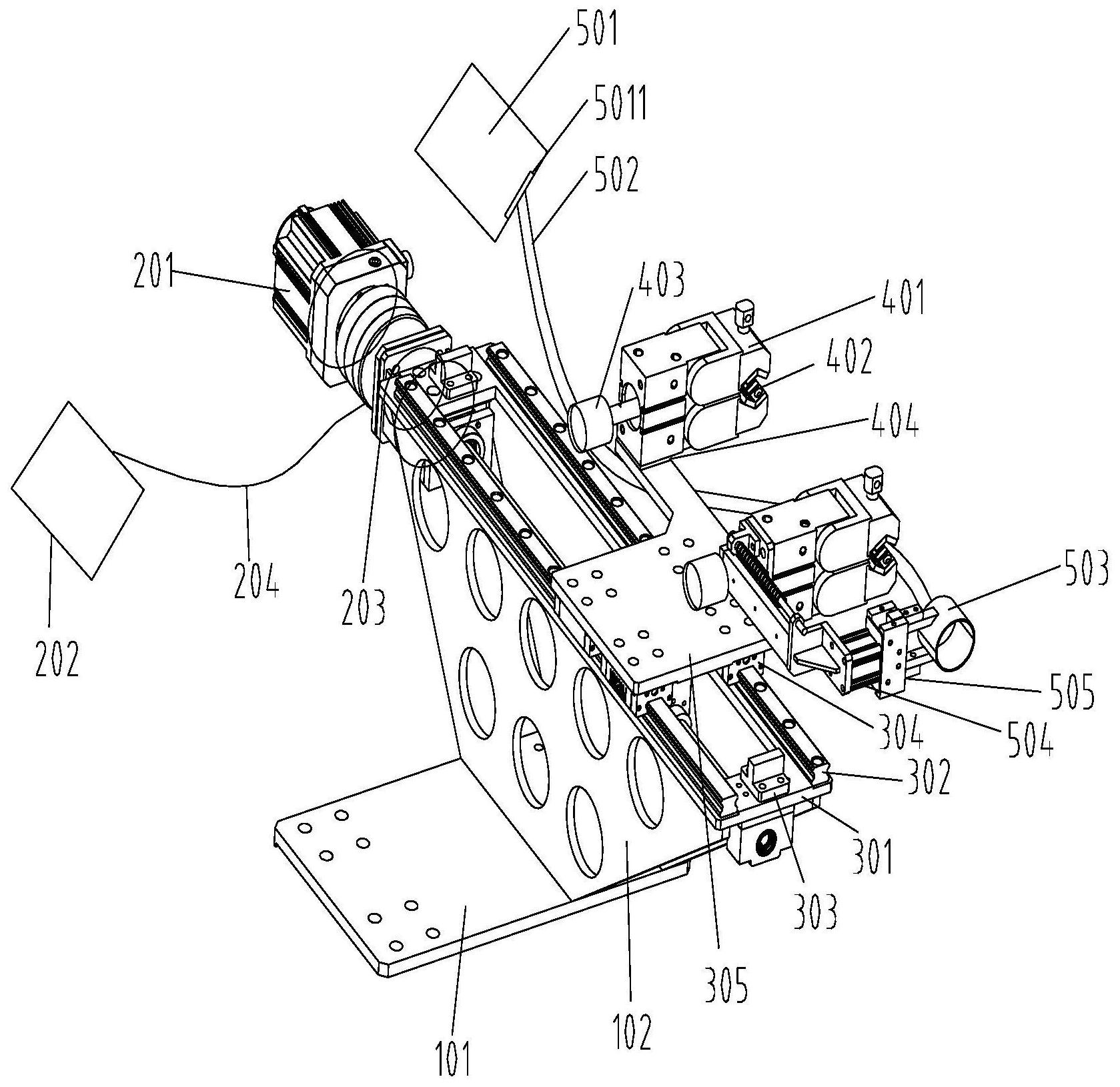
自动焊枪
图片尺寸1407x1956
五羊小铜管焊枪空调专用液化气氧气焊枪煤气焊炬冰箱焊接维修工具
图片尺寸750x1132
焊枪
图片尺寸450x600
挤出式塑料焊枪pppe挤压式大焊枪土工膜焊机pe焊接工
图片尺寸750x1315
undefined
图片尺寸1199x1920
图片尺寸2020x1047