焊缝清根设备

焊缝清根机
图片尺寸3742x3742
管道环缝清根机,管道环缝铣边机,胡峰坡口机此设备配备智能切削系统
图片尺寸1050x427
焊缝清根机清除高温氧化层 德国路德清理不锈钢焊道发黑氧化层
图片尺寸750x750
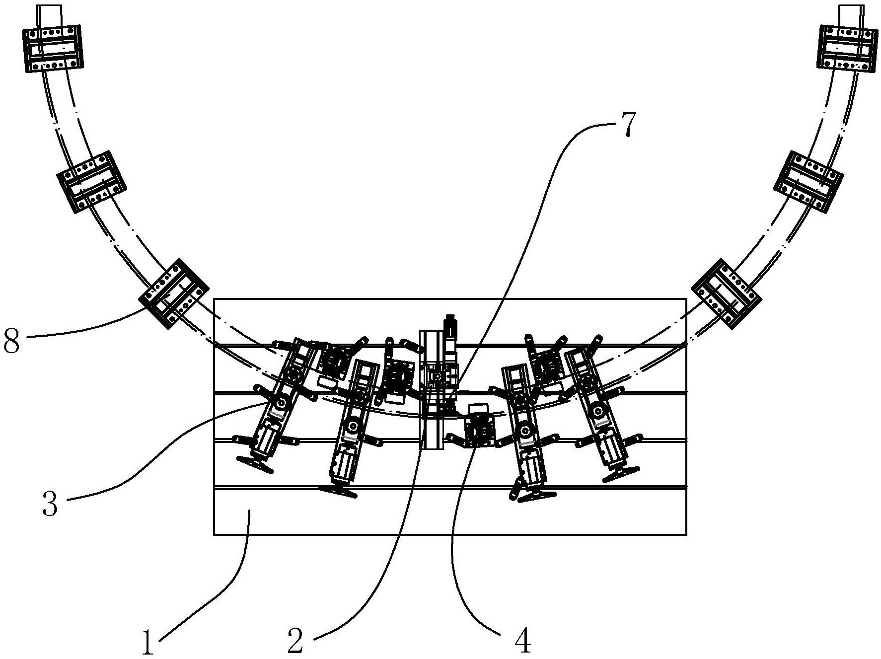
自动外缝清根打磨工位
图片尺寸4608x2126
一种夹紧驱动装置及焊缝清根机
图片尺寸1774x1327
大明重工与奥地利miba合作的清根设备投产,生产效率实现大
图片尺寸742x905
焊缝余高打磨机/清根机
图片尺寸502x757
窄间隙&多丝埋弧焊➕清根机龙门焊接机#自动焊接设备 #一机
图片尺寸1920x1080
折叠滤芯焊接机
图片尺寸2250x2261
cm管道环缝清根机,开始接受预定!
图片尺寸1728x1080
首页 机械设备 电焊,切割设备 弧焊机 专用车焊接双面成型免清根
图片尺寸1920x2560
400/500,xim350,hiarc350涂装焊接气保焊机-搜了网
图片尺寸3264x2448
焊缝余高自动打磨机/清根机
图片尺寸543x702
小管道高速根焊,单面焊双面成型 管道安装 焊接机器人 管道自动焊机
图片尺寸970x1293
滤芯轻松焊接焊缝美观#气动点焊机#长臂点焊机#源头焊接设备生产厂家
图片尺寸1080x810
大明重工与奥地利miba合作的清根设备投产,生产效率实现大
图片尺寸916x618
纵缝清根机
图片尺寸1920x1440
"我崇拜生命里的真诚,喜欢岁月验证过的友情,敬仰与
图片尺寸1441x1080
机器人焊枪清枪器:焊接自动化领域的关键推动者
图片尺寸720x960
🔄 滚焊机:现代焊接的秘密武器 🔩
图片尺寸1080x1410