焦度计原理图

使用望远式焦度计测量和标记眼镜片
图片尺寸1169x407
照度计的测试原理和方法
图片尺寸893x235
一种全自动焦度计
图片尺寸1538x1719
背景技术:焦度计根据工作原理又分为基于调焦成像原理的焦度计与基于
图片尺寸285x389
焦度计的光学原理
图片尺寸1080x810
cn1749725a_焦度计失效
图片尺寸1417x831
自动焦度计 自动焦度计的传感元件是ccd传感器,基本原理是:光 线经不
图片尺寸1080x810
焦度计的制作方法
图片尺寸1000x764
cn101922967a_一种变焦亮度计失效
图片尺寸1964x742
焦度计综述
图片尺寸2035x852
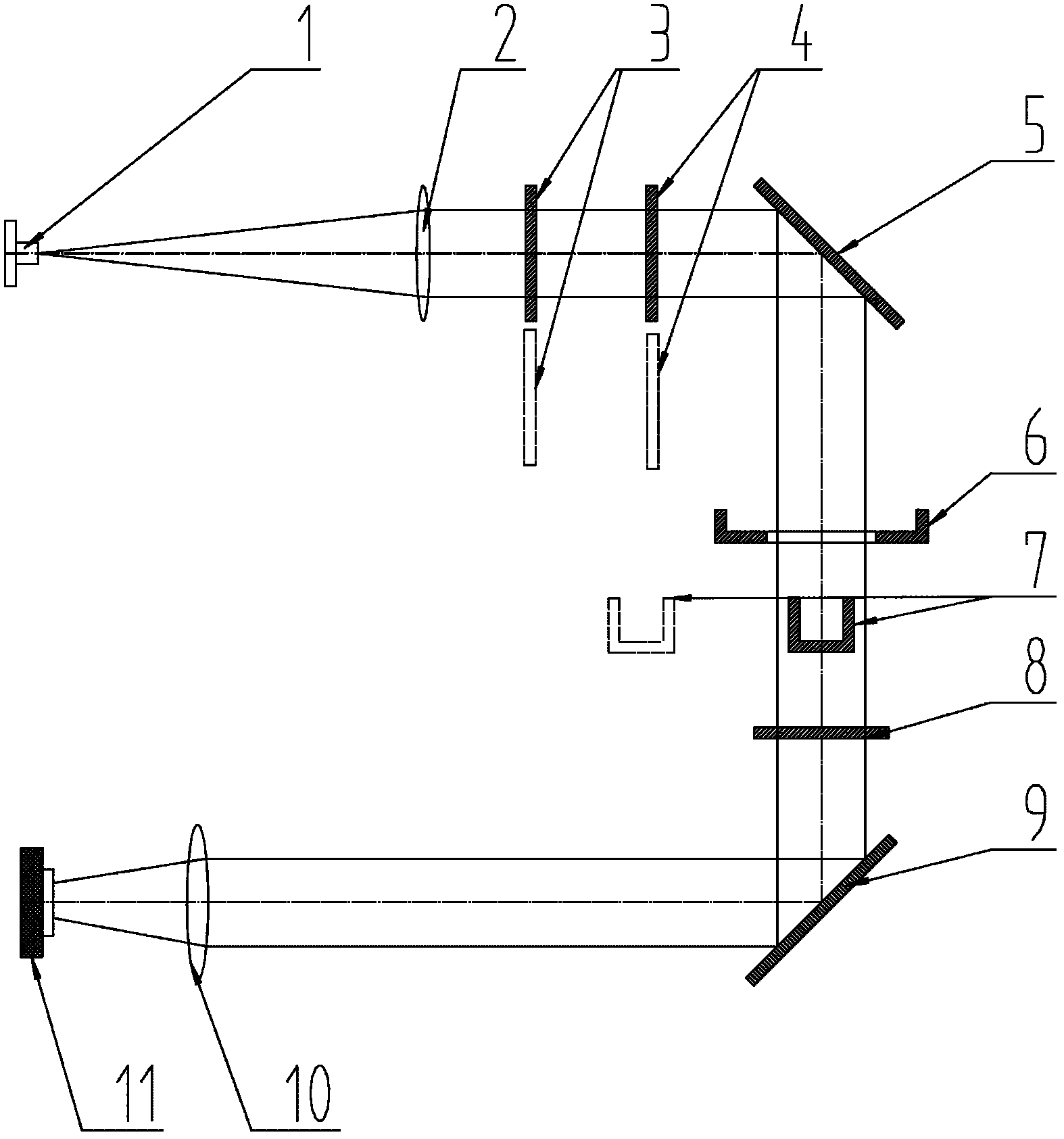
一种光焦度计
图片尺寸1574x1685
一种自动检测焦度计制造技术
图片尺寸719x1000
cn203069355u_多镜片准直焦度计有效
图片尺寸670x1000
焦度计
图片尺寸1592x1654
cn102252827a_自动焦度计控制设备和自动焦度计系统
图片尺寸1867x1281
其原理为:被测透镜放置于平行光管物镜的前面,平行光管物镜焦面上的分
图片尺寸492x219
焦度计综述
图片尺寸971x395
二 散光盘和裂隙片测定被测眼散光,1:散光盘视表的检测原理和方法2
图片尺寸918x688
extech 407026带pc接口的重型照度计
图片尺寸500x672
佳能公布无反相机眼控自动对焦专利和rf微距镜头的专利_影视工业网
图片尺寸605x436