煤仓设计图

一种原煤料仓的制作方法
图片尺寸1427x2603
可抑尘煤矿井下倾斜煤仓
图片尺寸2555x1952
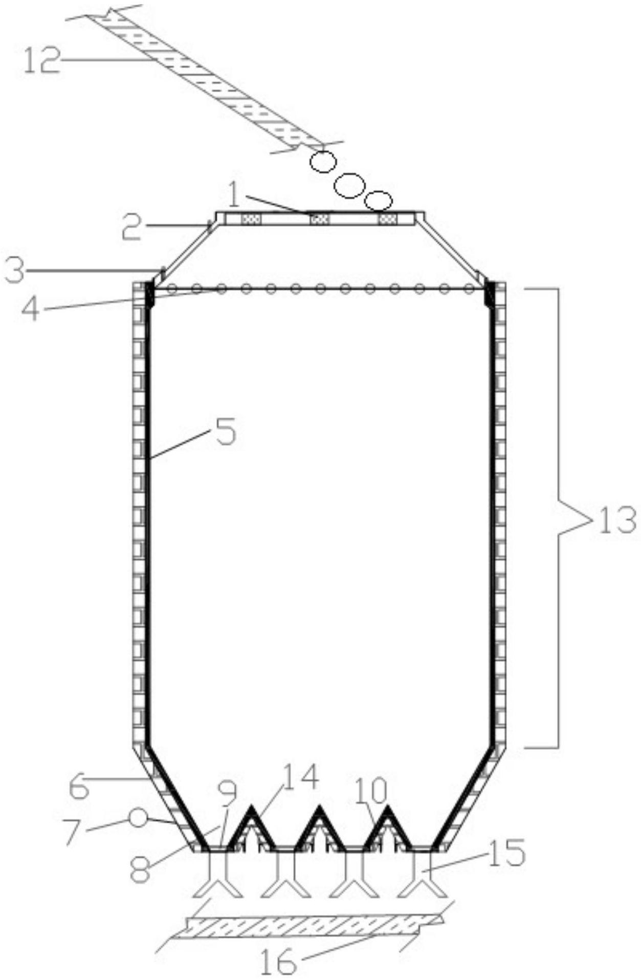
一种筒式储煤仓
图片尺寸1253x1915
采区煤仓
图片尺寸544x791
一种圆顶密封储煤仓
图片尺寸2419x1373
一种煤粉储料仓
图片尺寸1711x1978
风幕式全封闭煤仓
图片尺寸1288x851
图片尺寸1106x803
新型壁挂式煤仓设计与应用研究
图片尺寸455x314
一种多点下料架空钢混凝土组合结构煤仓仓底结构及煤仓
图片尺寸1612x1697
0m原煤仓施工图
图片尺寸596x558
商标logo
图片尺寸1997x791
附图摘要本发明公开了一种在线自动混配煤精准调节装置,包括混配煤仓
图片尺寸1902x888
商标logo
图片尺寸575x799
一种筒仓配煤系统的制作方法
图片尺寸1840x1694
一种带伸缩槽的原煤仓双仓互通配煤机构
图片尺寸1673x1163
原煤仓结构设计图
图片尺寸818x488
某地区多层工业建筑设计煤仓施工图
图片尺寸610x861
商标logo
图片尺寸1668x717
一种适应于燃煤锅炉燃料灵活掺配的原煤仓系统的制作方法
图片尺寸1000x943