煤炉结构图

cn100447484c_一种以超细煤粉为主的多种燃料混烧的工业锅炉有效
图片尺寸2752x1792
焦炉的结构组成及耐火材料的应用
图片尺寸498x574
szl双锅筒燃煤蒸汽锅炉燃煤热水锅炉
图片尺寸650x468
2米直径单桌面/代
图片尺寸750x1144
一种煤粉锅炉低氮燃烧方法
图片尺寸1735x1277
cn2826180y_一种以超细煤粉为主的多种燃料混烧的工业锅炉失效
图片尺寸2732x1768
型煤炭化炉 - 炼焦百科
图片尺寸560x735
旨在提供一种结构上可同时提供蒸汽和有机热载体两种介质的煤粉锅炉
图片尺寸579x596
煤种性质对煤粉工业锅炉结焦的影响
图片尺寸1575x752
cn2211009y_热管式民用热风煤炉失效
图片尺寸1792x2080
锅炉培训教材
图片尺寸1080x810
cn1061792a_新型混合煤气发生炉失效
图片尺寸1792x2285
cn2182929y_一种水暖煤炉失效
图片尺寸1824x2030
两段式煤气发生炉
图片尺寸726x612
两段式煤气发生炉主炉示意图
图片尺寸654x680
乌海燃煤锅炉
图片尺寸848x601
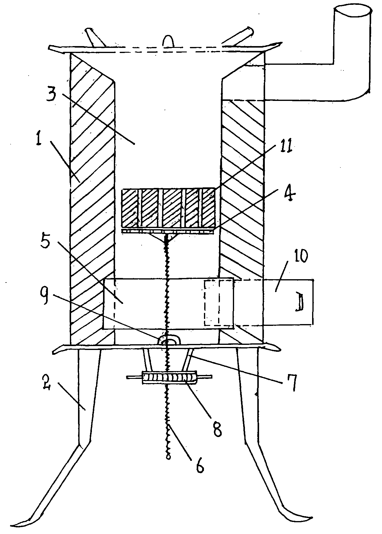
煤炉,具体为一种节能型多用途蜂窝煤炉,解决现有蜂窝煤炉由于结构上的
图片尺寸1268x1773
cn2474909y_高效环保型煤气发生炉失效
图片尺寸800x758
煤粉工业锅炉技术发展及应用
图片尺寸6024x1496
小型煤气发生炉结构特点:加煤段:采用多管分煤装置,使入炉煤在炉内得
图片尺寸650x456